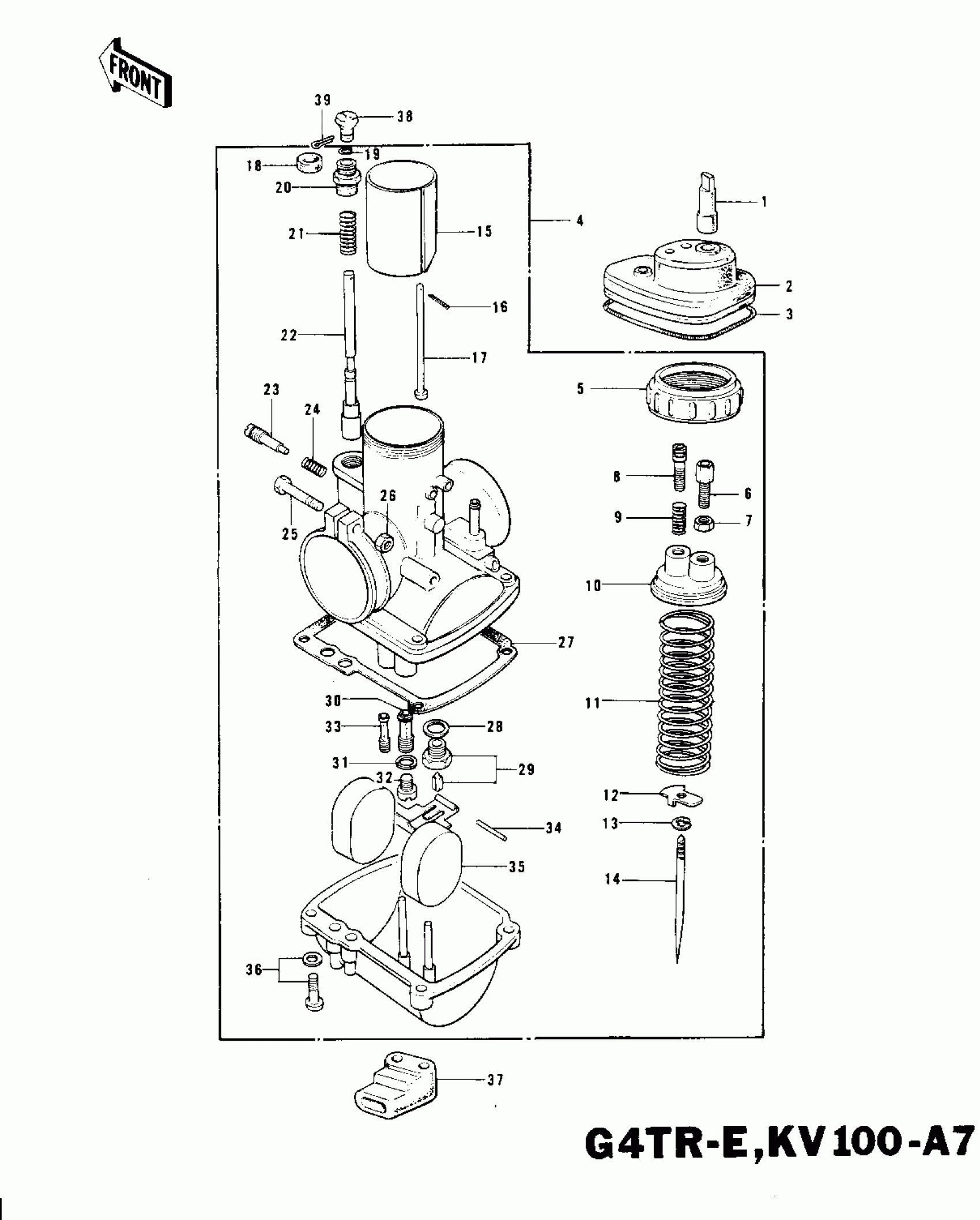
Kawasaki KV100-A7 CARBURETOR G4TR-E,KV100-A7 ('74-'75) Diagram
#
Description
Price
2
BOOT,CARBURETOR
14038-035
Unavailable
4
CARBURETOR ASSY
16001-233
Unavailable
15
VALVE-THROTTLE,CA2.0
16025-057
Unavailable
17
ROD,THROTTLE VLV STP
16024-012
Unavailable
19
CLAMP
92037-1077
Unavailable
21
SPRING,STARTER PLUNGER
16013-010
Unavailable
33
JET-PILOT,#17.5
92064-020
Unavailable
37
GROMMET,OVERFLOW PIPE
16136-007
Unavailable
