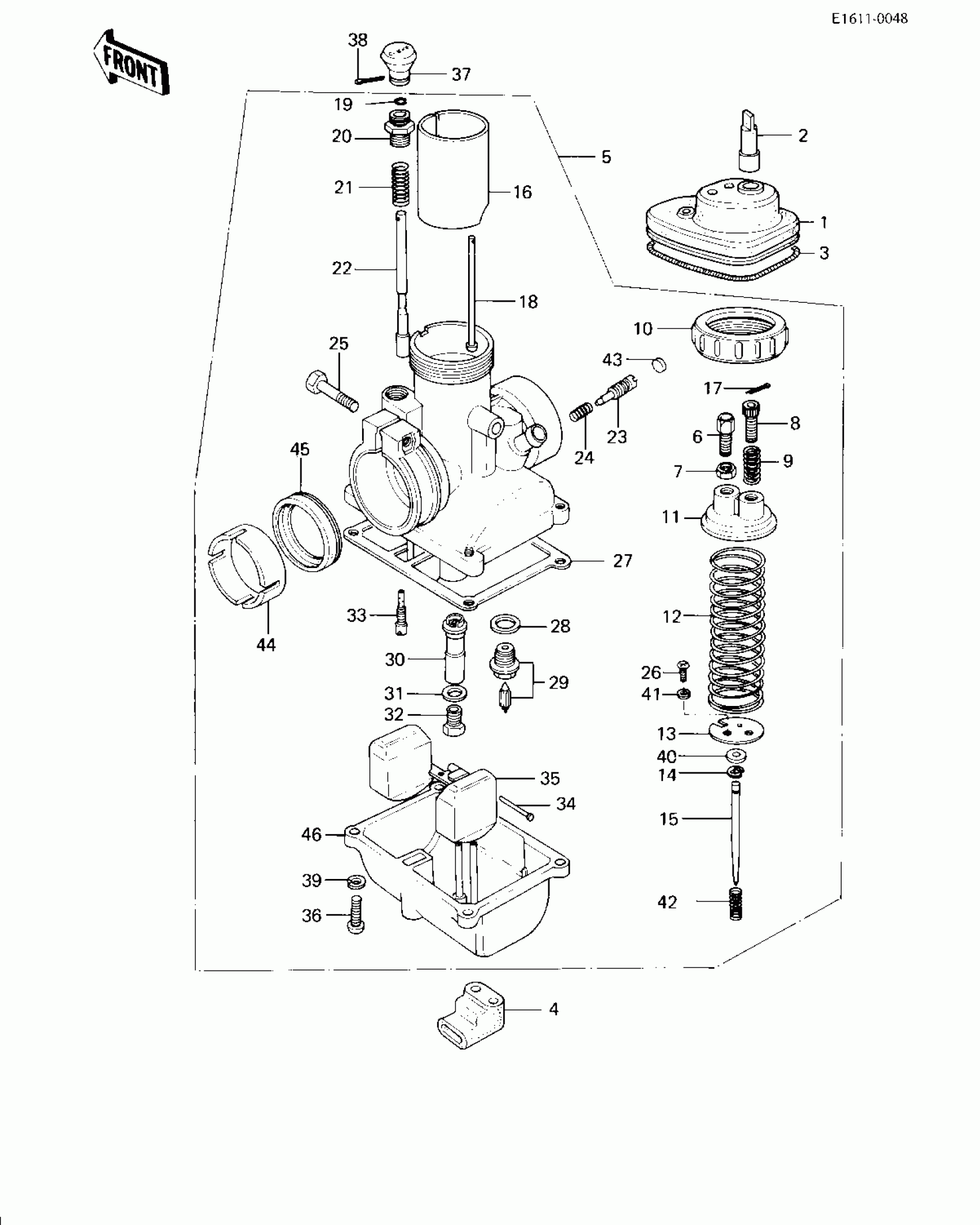
Kawasaki KM100 CARBURETOR (KM100-A6/A7) Diagram
#
Description
Price
1
BOOT,CARBURETOR
14038-035
Unavailable
4
GROMMET,OVERFLOW
92071-1024
Unavailable
5
CARBURETOR ASSY
16001-1185
Unavailable
6
CABLE ADJUSTER
16002-1004
Unavailable
7
NUT,CABLE ADJSTR LOCK
92015-1092
Unavailable
8
THROTTLE ADJUSTER
16021-1021
Unavailable
9
SPRING,THROTTLE ADJST
92081-1232
Unavailable
10
CAP,MIXING CHAMBER
16004-1007
Unavailable
11
TOP,MIXING CHAMBER
16005-1010
Unavailable
13
SPRING SEAT,THR VALVE
13169-1223
Unavailable
18
ROD,THR VALVE STOP
46102-1014
Unavailable
19
CLAMP
92037-1166
Unavailable
20
CAP,STARTER PLUNGER
16012-1007
Unavailable
21
SPRING,STARTER PLUNGR
92081-1233
Unavailable
23
SCREW,PILOT AIR ADJST
16014-1022
Unavailable
24
SPRING,PILOT AIR SCRW
92081-1202
Unavailable
25
BOLT,CARB MOUNT
92001-1304
Unavailable
27
GASKET,FLOAT CHAMBER
11009-1174
Unavailable
29
FLOAT VALVE ASSY
16031-1010
Unavailable
30
NEEDLE JET,#80
16017-1043
Unavailable
31
WASHER,PLAIN
92022-1167
Unavailable
32
MAIN JET,#82
92063-1045
Unavailable
32
MAIN JET,#80
92063-1065
Unavailable
32
MAIN JET,#84
92063-1066
Unavailable
33
PILOT JET,#38
92064-1027
Unavailable
34
PIN
92043-1066
Unavailable
35
FLOAT
16031-1009
Unavailable
39
WASHER SPRING 4MM
461F0400
Unavailable
42
SPRING,JET NEEDLE
92081-1203
Unavailable
44
INSULATOR,CARBURETOR
16073-1010
Unavailable
45
SEAL,INSULATOR
92093-1060
Unavailable
