- Partiron
- OEM Parts
- Kawasaki
- motorcycle
- 2004
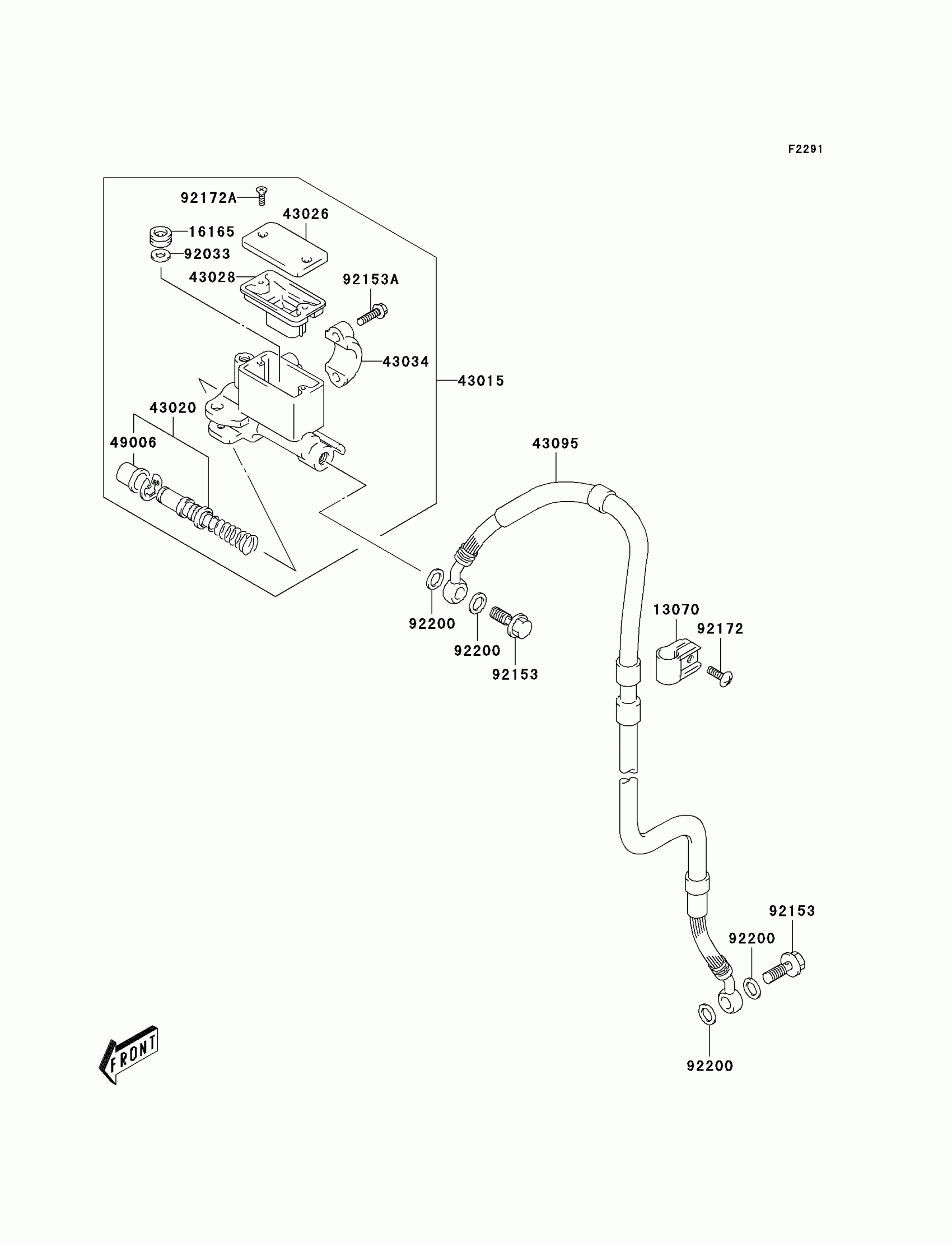
- KLX400SR (Canada Only)
Front Master Cylinder
Kawasaki KLX400SR (Canada Only) Front Master Cylinder Diagram
#
Description
Price
43095
HOSE-BRAKE,FR
43095-S013
Unavailable
92153
BOLT
92153-S053
Unavailable
