Partiron

Kawasaki KLX150BF Owner's Tools Diagram

#

Description
Price

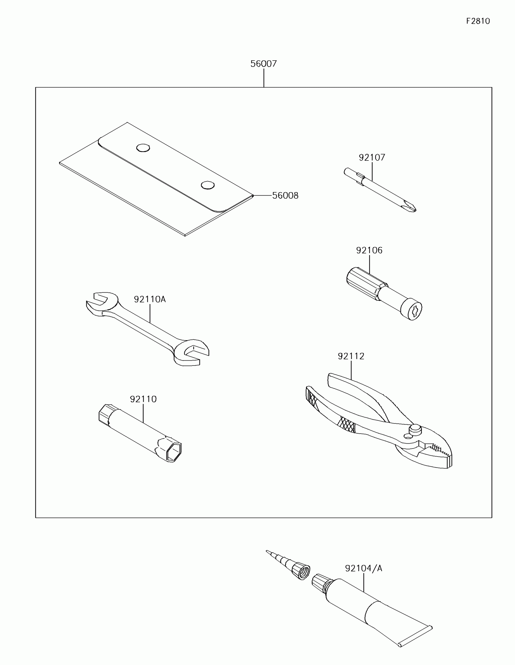
56007

TOOL-KIT

56007-0084

$65.17

56008

BAG,TOOL

56008-0024

$19.99

92104

GASKET-LIQUID,TB1211F,CLEAR

92104-0004

$96.32

92104A

GASKET-LIQUID,TB1216B,BLACK

92104-1064

$98.59

92106

GRIP-SCREW DRIVER

92106-0002

$1.81

92107

TOOL-DRIVER,#2PHILLIPS

92107-0014

$2.84

92110

TOOL-WRENCH,BOX,16X17

92110-0050

$9.63

92110A

TOOL-WRENCH,OPEN END,14X17

92110-0053

$8.49

92112

TOOL-PLIERS

92112-0005

$16.93