Partiron

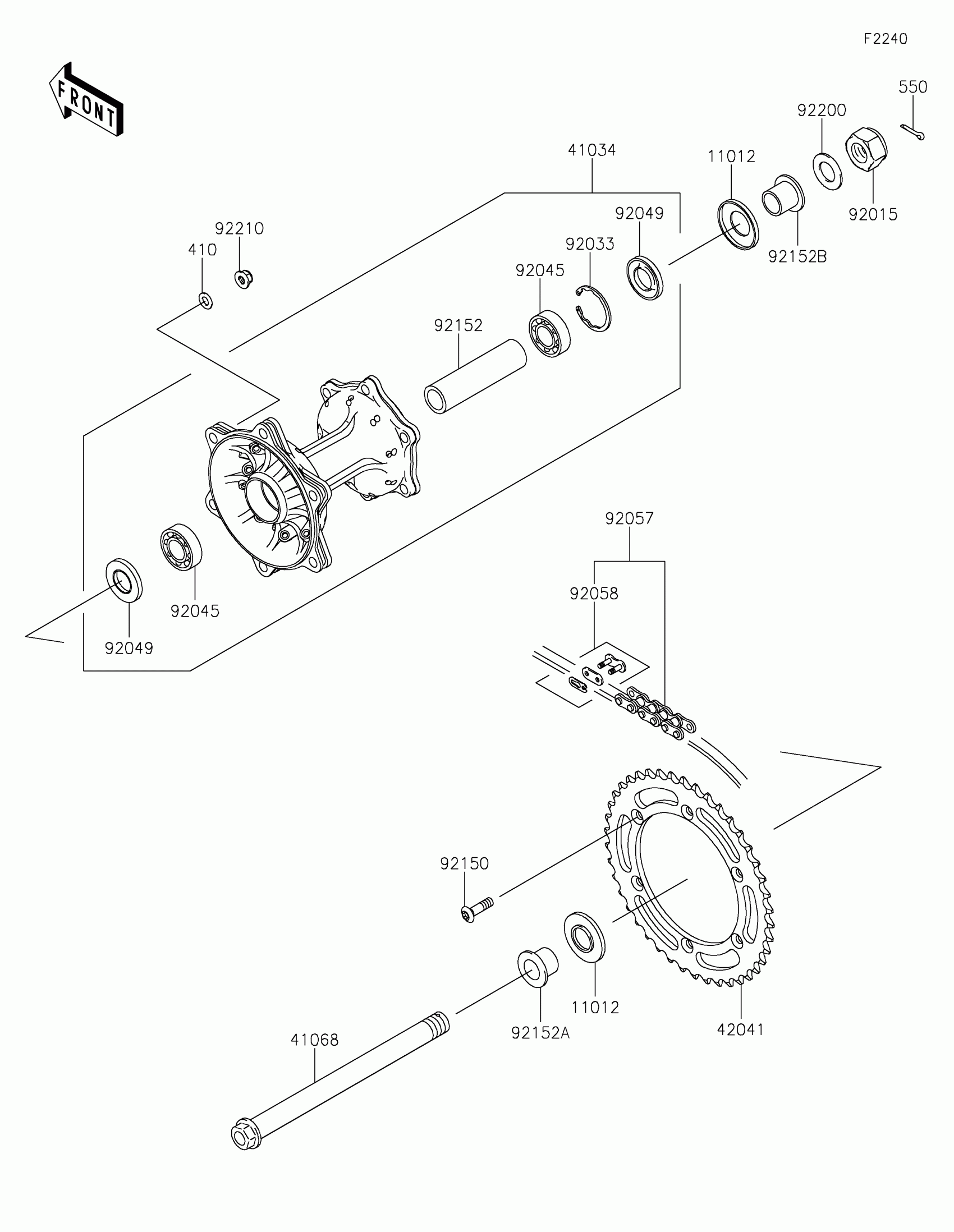
Kawasaki KLX®250 Rear Hub Diagram

#

Description
Price

11012

CAP,AXLE

11012-1581

$6.51

41034

DRUM-ASSY,REAR BRAKE

41034-0044

$473.10

41068

AXLE,RR,20X250

41068-0602

$80.90

42041

SPROCKET-HUB,42T

42041-1421

$59.43

92015

NUT,LOCK,20MM

92015-1770

$28.25

92033

RING-SNAP,42MM

92033-1041

$6.16

92045

BEARING-BALL,6004X8JRLLX2/3A

92045-1239

$32.87

92049

SEAL-OIL,BJNC2 25425

92049-1203

$17.91

92057

CHAIN,DRIVE,EK520LV-OX106L

92057-1367

$348.16

92058

JOINT-CHAIN,DRIVE,EK

92058-1070

$11.83

92150

BOLT,SOCKET,8X28

92150-1978

$8.58

92152

COLLAR,REAR BRAKE DRUM,L=105

92152-0529

$16.69

92152A

COLLAR,RR AXLE,LH,L=22

92152-0734

$37.61

92152B

COLLAR,RR AXLE,RH,L=20

92152-0735

$37.61

92200

WASHER,20.2X36X2

92200-1146

$5.00

92210

NUT,FLANGED,LOCK,8MM

92210-0493

$7.60

410

WASHER-PLAIN-SMALL,8MM

410AA0800

$0.96

550

PIN-COTTER,3.0X25

550AA3025

$0.62