Partiron

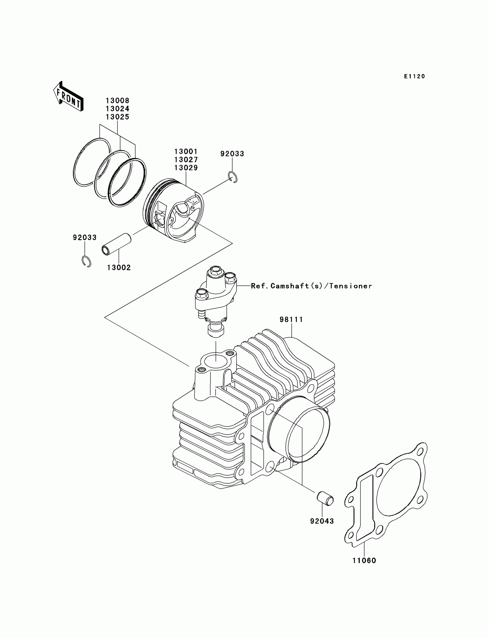
Kawasaki KLX®110L Cylinder/Piston(s) Diagram

#

Description
Price

11060

GASKET,CYLINDER BASE

11060-1754

$11.82

13001

PISTON-ENGINE,STD

13001-0118

$57.57

13002

PIN-PISTON

13002-0031

$8.89

13008

RING-SET-PISTON

13008-0011

$50.89

13024

RING-SET-PISTON LL,O/S 1.00

13024-0007

$50.89

13025

RING-SET-PISTON L,O/S 0.50

13025-0008

$50.89

13027

PISTON-ENGINE LL

13027-0015

$57.57

13029

PISTON-ENGINE L

13029-0020

$57.57

92033

RING-SNAP

92033-1072

$3.89

92043

PIN,8.2X10X14

92043-0100

$3.71

98111

CYLINDER-COMP-ENGINE

98111-1083

$152.94