Kawasaki KH500-A8 OIL PUMP ('73-'75 D/E/F & '76 A8) Diagram
#
Description
Price
3
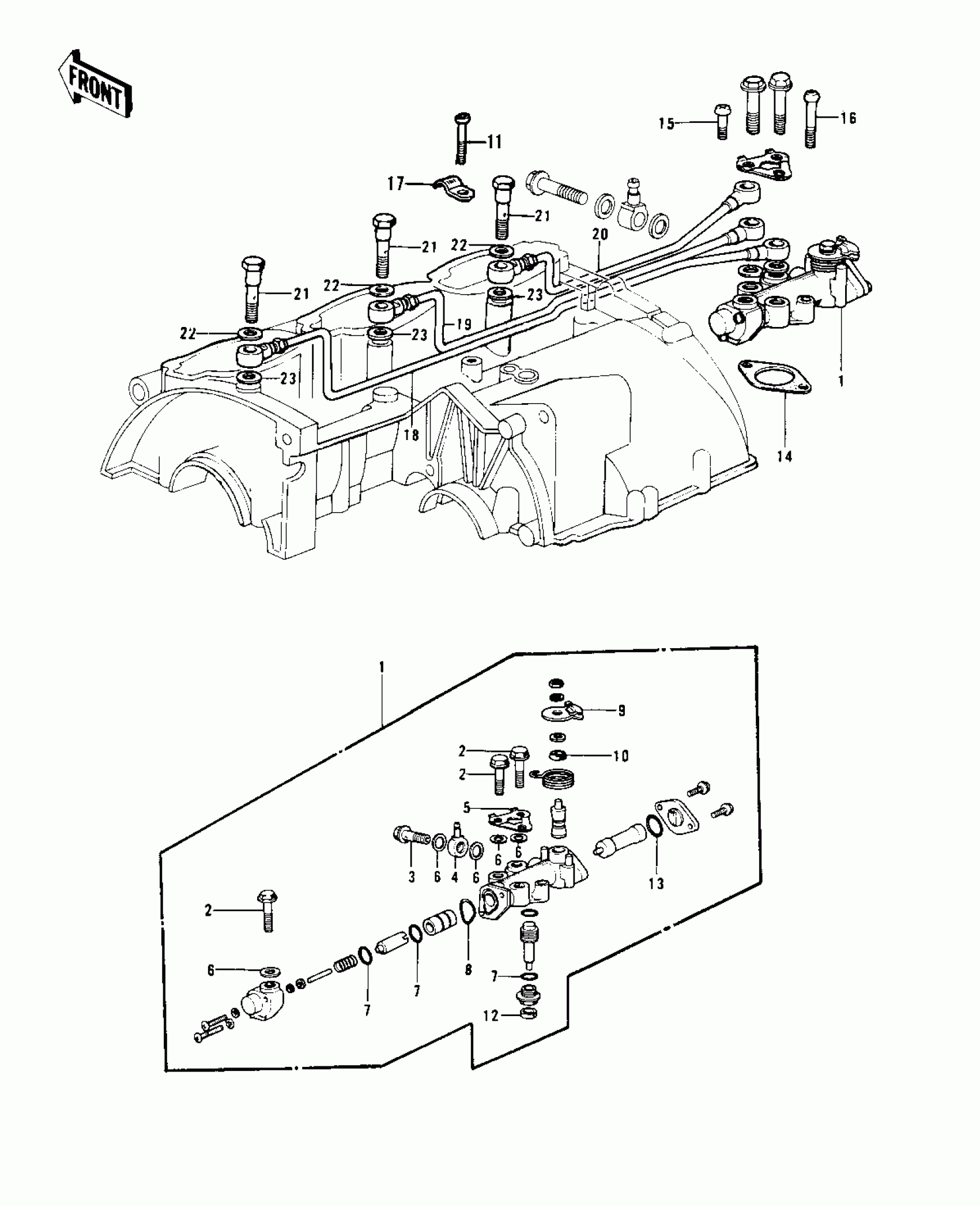
BOLT BANJO
92060-009
Unavailable
4
CONNECTOR BANJO
92061-015
Unavailable
5
WASHER,OIL PUMP LOCK
92024-058
Unavailable
9
LEVER-OIL PUMP CABLE
16096-003
Unavailable
13
"0" RING,LOWER CAP
16090-003
Unavailable
17
HOLDER OIL PIPE
16068-004
Unavailable
18
PIPE OIL
16134-007
Unavailable
19
PIPE OIL
16134-008
Unavailable
20
PIPE OIL
16134-009
Unavailable
21
BOLT-BANJO,CR
92060-010-79
Unavailable
