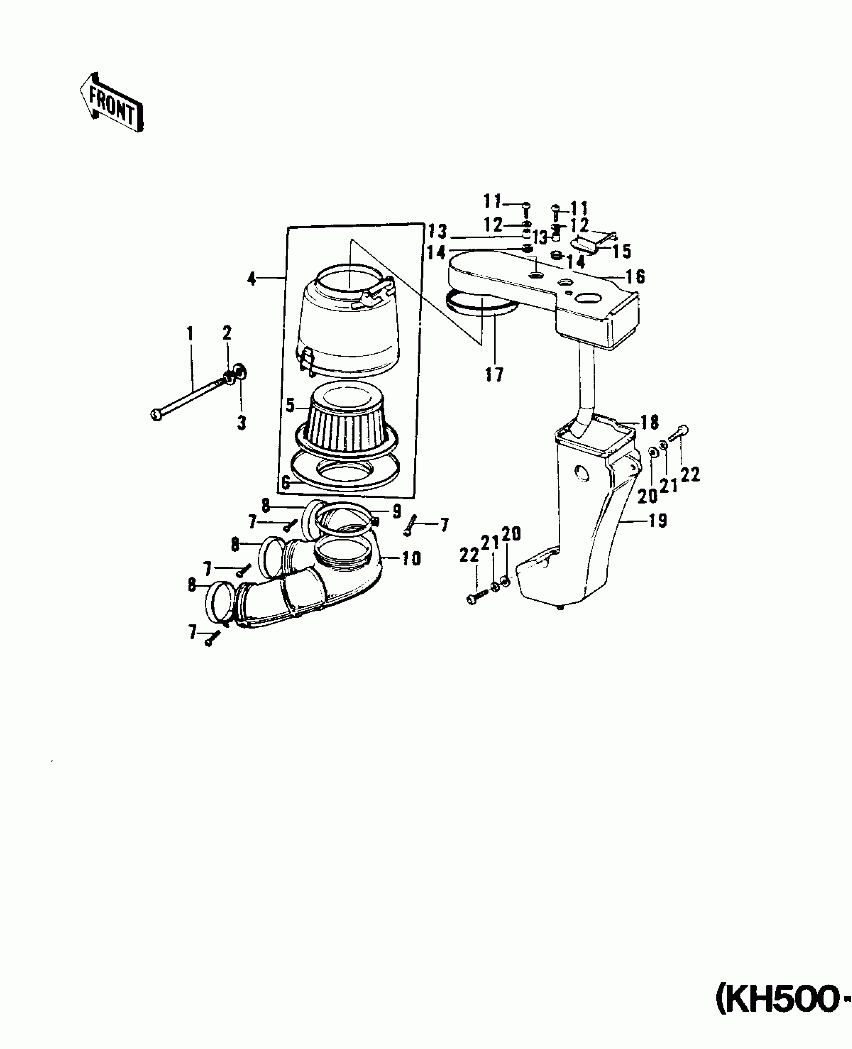
Kawasaki KH500-A8 AIR CLEANER (KH500-A8) Diagram
#
Description
Price
4
AIR CLEANER ASSY
11010-097
Unavailable
5
ELEMENT,AIR CLNR
11013-057
Unavailable
6
CAP AIR CLEANER
11012-011
Unavailable
10
PIPE ASSY-INLET
11015-033
Unavailable
13
COLLAR-SILENCER
92027-149
Unavailable
14
DAMPER RUBBER
92075-118
Unavailable
15
CAP,AIR CLEANER
11012-062
Unavailable
16
SILENCER,AIR CLEANER
11012-061
Unavailable
17
GASKET,SILENCER
11017-009
Unavailable
18
GASKET,CLEANER BODY
11017-013
Unavailable
19
BODY,AIR CLEANER
11011-056
Unavailable
