Partiron

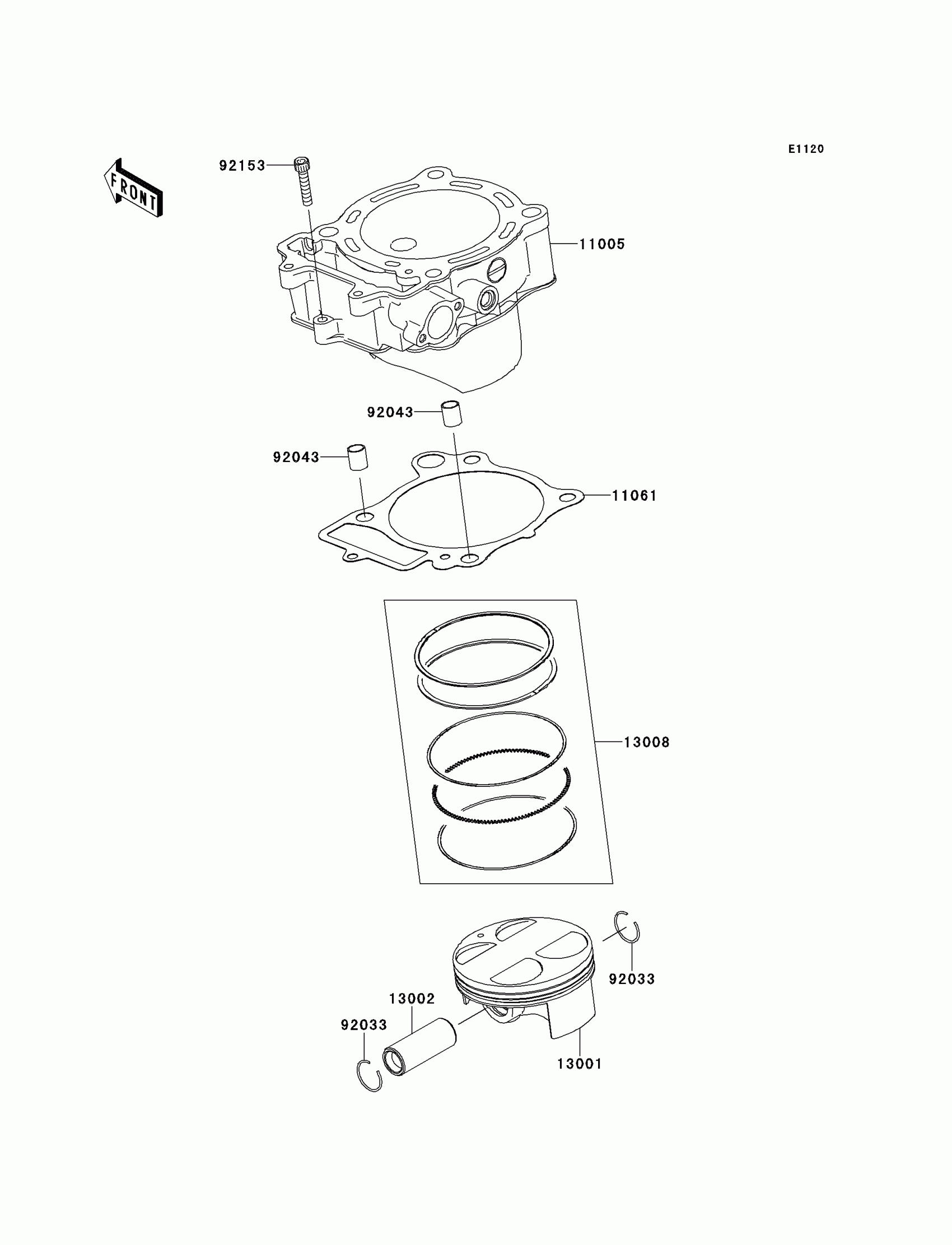
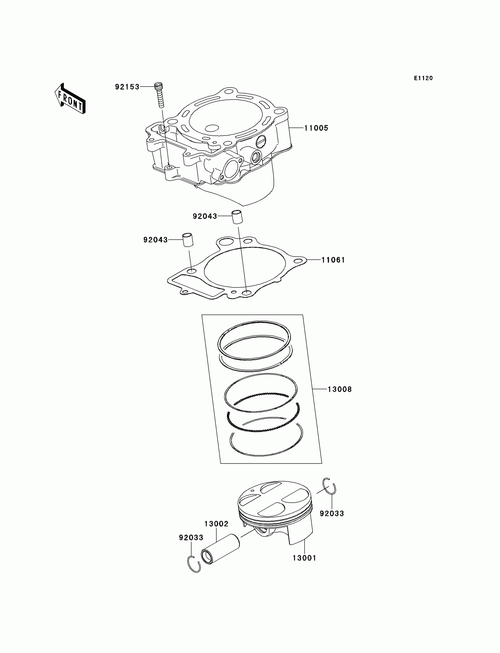
Kawasaki KFX®450R Cylinder/Piston(s) Diagram

#

Description
Price

11005

CYLINDER-ENGINE

11005-0080

$515.01

11061

GASKET,CYLINDER BASE

11061-0234

$15.11

13001

PISTON-ENGINE

13001-0079

$154.72

13002

PIN-PISTON

13002-0014

$33.35

13008

RING-SET-PISTON

13008-0022

$59.70

92033

RING-SNAP

92033-1188

$3.89

92043

PIN,10.1X12X14

92043-4009

$6.22

92153

BOLT,6X30

92153-0844

Unavailable