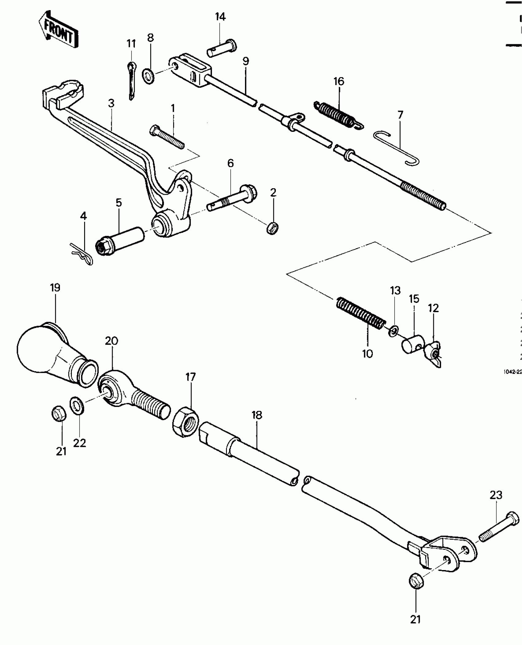
Kawasaki KDX400 BRAKE PEDAL/TORQUE LINK Diagram
#
Description
Price
5
BOLT,HEX HEAD,12M/M
92001-1035
Unavailable
6
BOLT HEX HEAD,12M/M
92001-1036
Unavailable
13
WASHER, BRAKE ROD
92022-4003
Unavailable
16
SPRING,BRAKE PEDAL
92081-1025
Unavailable
19
BOOT
49006-4001
Unavailable
22
WASHER CHNG DRUM LEV
92022-091
Unavailable
