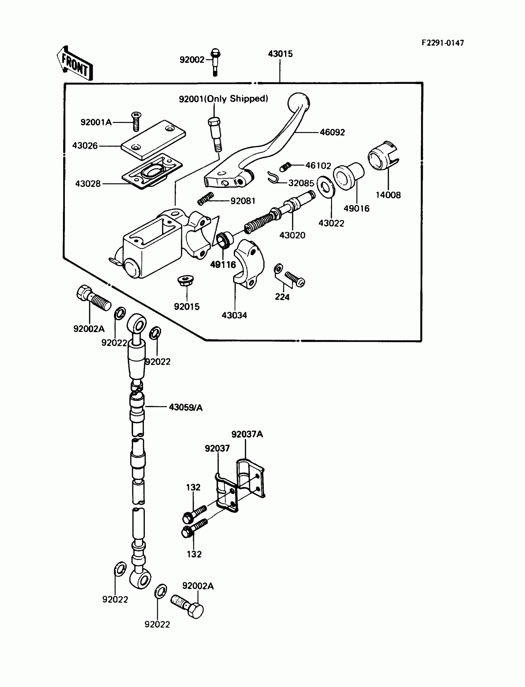
Kawasaki KDX200 Front Master Cylinder Diagram
#
Description
Price
14008
LINER
14008-1030
Unavailable
32085
STOPPER,BRAKE LEVER ROD
32085-1087
Unavailable
43015
CYLINDER-ASSY-MASTER,FR
43015-1281
Unavailable
43022
STOPPER-BRAKE
43022-1008
Unavailable
43026
CAP-BRAKE
43026-1019
Unavailable
43028
DIAPHRAGM
43028-1030
Unavailable
43034
HOLDER-BRAKE
43034-1012
Unavailable
46092
LEVER-GRIP,BRAKE
46092-1108
Unavailable
46102
ROD,BRAKE LEVER ADJUSTER
46102-1120
Unavailable
49116
VALVE-ASSY,MASTER CYLINDER
49116-1057
Unavailable
92002
BOLT,LEVER SET
92002-1648
Unavailable
92015
NUT,LOCK,6MM,BLACK
92015-1191
Unavailable
92081
SPRING,BRAKE LEVER
92081-1428
Unavailable
224
SCREW-PAN-WP-CROS
224B0625
Unavailable
