Partiron

Yamaha JT2MX (JT2_JT2MX) 1972 SEAT Diagram

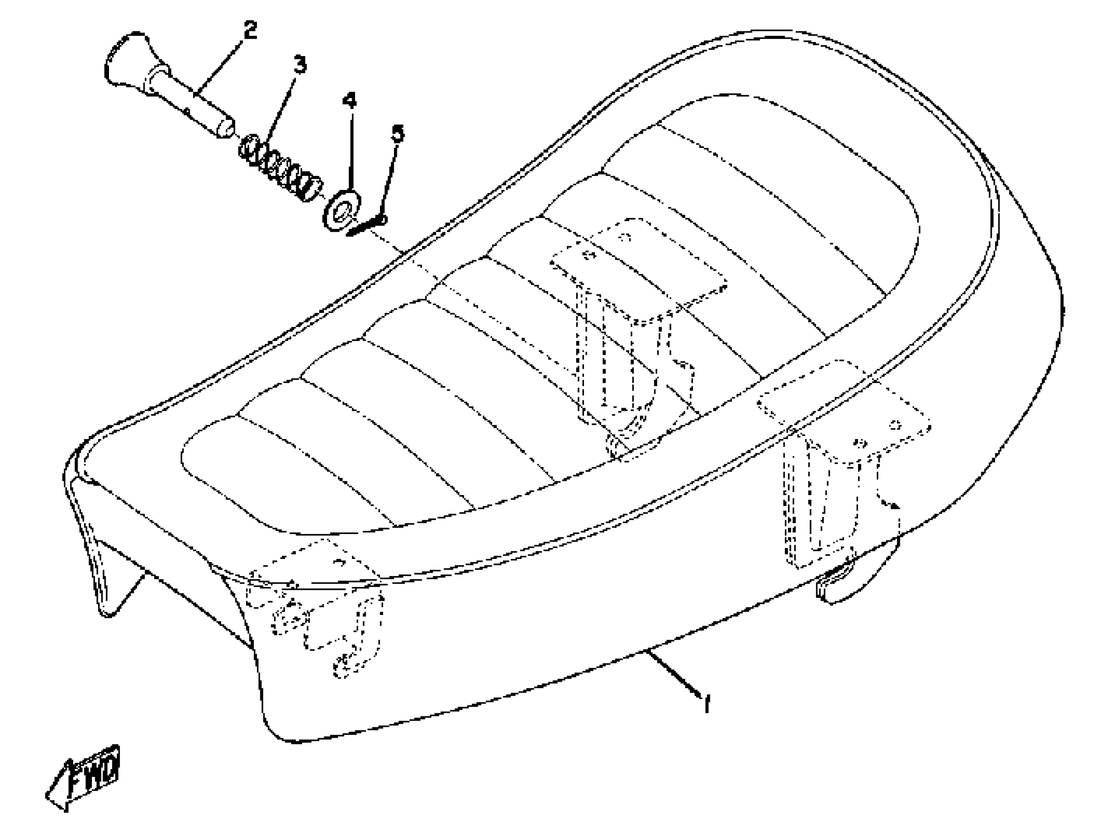
#

Description
Price

1

COVER, SM-DBL SEAT

(288-24771-01-00)

Unavailable

1

SUPPORT, SPRING 1

(288-24781-00-00)

Unavailable

2

PIN, SPEC''L SHAPE

(90249-05025-00)

Unavailable

3

SUPPORT, SPRING 1

(288-24781-00-00)

Unavailable

4

WASHER, PLATE 1562722600

90201-08083-00

$9.49

5

PIN, COTTER

91490-20025-00

$1.99