- Partiron
- OEM Parts
- Yamaha
- motorcycle
- 1971
- JT1L (JT1_JT1L) 1971
CARBURETOR
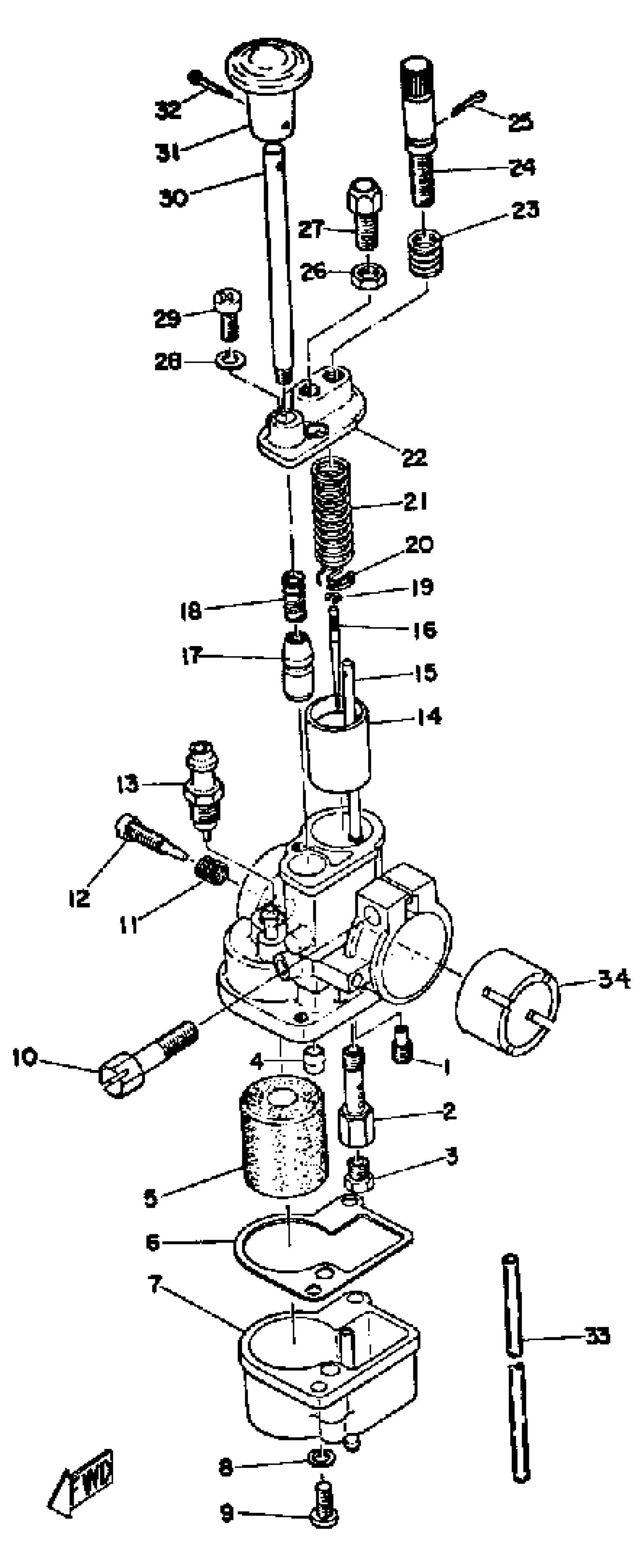
Yamaha JT1L (JT1_JT1L) 1971 CARBURETOR Diagram
#
1
CARBURETOR ASSEMBLY 1
288-14301-60-00
Unavailable
1
JET, PILOT #38
(288-14342-38-00)
Unavailable
2
NOZZLE, MAIN
(288-14341-00-00)
Unavailable
3
JET, MAIN #82
288-14343-41-00
Unavailable
3
JET, MAIN #84
288-14343-42-00
Unavailable
3
. JET, MAIN #86
288-14343-43-00
Unavailable
3
. JET, MAIN #88 (#88)
288-14343-44-00
Unavailable
4
JET, STARTER #50
(288-14344-25-00)
Unavailable
5
FLOAT
288-14385-00-00
Unavailable
6
GASKET, FLOAT CHMBR
288-14384-00-00
Unavailable
7
BODY, FLOAT CHAMBER
(288-14381-00-00)
Unavailable
10
SCREW, BODY FITTING
(288-14125-00-00)
Unavailable
11
SPRING, AIR ADJUSTING
288-14334-00-00
Unavailable
12
SCREW, AIR ADJUSTING
(288-14323-00-00)
Unavailable
13
NEEDLE VALVE ASSEMBLY
288-14390-10-00
Unavailable
14
VALVE, THROTTLE 1
288-14312-15-00
Unavailable
15
BAR, THROTTLE
(288-14314-00-00)
Unavailable
16
NEEDLE
288-14336-00-00
Unavailable
17
PLUNGER, STARTER
288-14371-00-00
Unavailable
18
SPRING, PLUNGER
(288-14335-00-00)
Unavailable
19
. CLIP
288-14137-00-00
Unavailable
20
SEAT, SPRING
(288-14136-00-00)
Unavailable
21
SPRING, THRTL VALVE
(288-14331-00-00)
Unavailable
22
TOP, MIXING CHAMBER
(288-14158-00-00)
Unavailable
23
SPRING, THRTL STOP
(288-14333-00-00)
Unavailable
24
SCREW, THROTTLE
(288-14321-00-00)
Unavailable
25
. PIN, COTTER
91490-12012-00
Unavailable
26
NUT, CABLE ADJUSTING
85L-14161-00-00
Unavailable
27
. SCREW, CABLE ADJUSTING
288-14124-00-00
Unavailable
31
KNOB STARTER
288-14118-00-00
Unavailable
32
PIN, COTTER
91490-16020-00
Unavailable
33
HOSE
(90445-05016-00)
Unavailable
34
GASKET, INSULATING
367-14156-00-00
Unavailable
