- Partiron
- OEM Parts
- Suzuki
- Motorcycle
- 1995
- JR50 (1995)
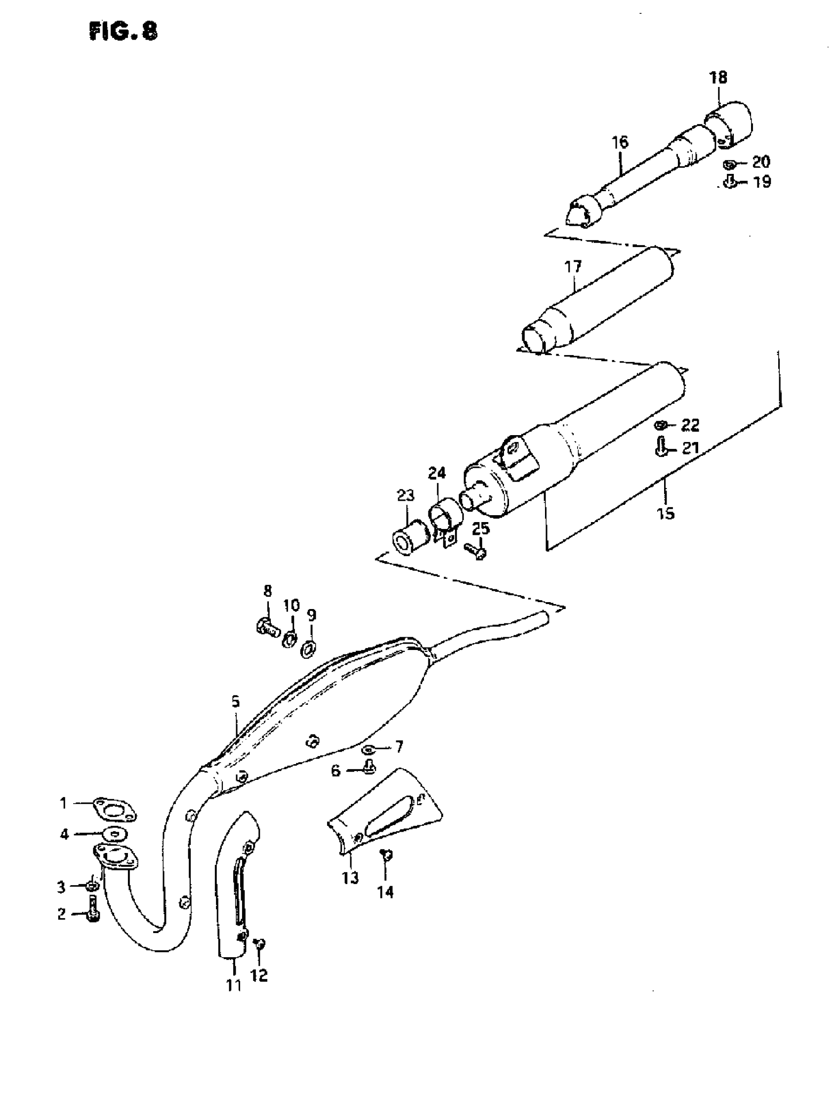
MUFFLER
Suzuki JR50 (1995) MUFFLER Diagram
#
Description
Price
17
SHELL. ARRESTER
14815-46600
Unavailable
18
CUTTER, MUFFLER TAIL
14817-04410
Unavailable
24
CLAMP
09402-22601
Unavailable
