- Partiron
- OEM Parts
- Suzuki
- Motorcycle
- 1995
- JR50 (1995)
FRONT FORK
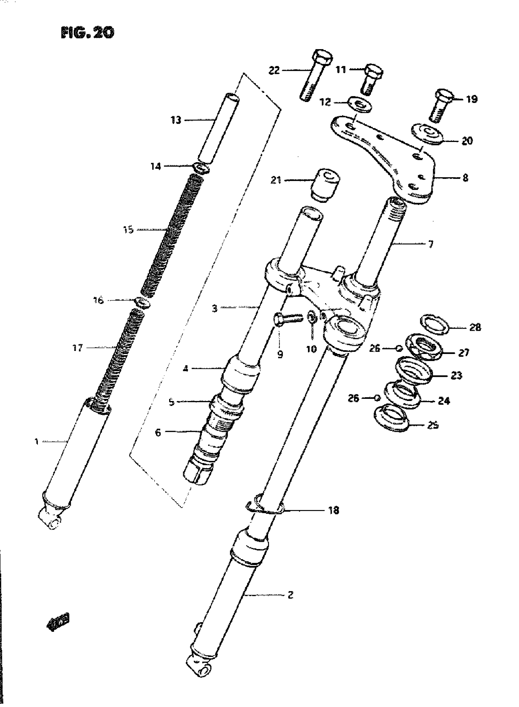
Suzuki JR50 (1995) FRONT FORK Diagram
#
Description
Price
1
FORK ASSY, FRONT (SILVER) | 1 MODEL N/P This part replaces 51100-04430-126.
51100-04430-13L
Unavailable
1
FORK ASSY, FRONT (SILVER) | MODEL R/S
51100-04430-13L
Unavailable
2
OUTER TUBE. LH (SILVER) | MODEL N/P This part replaces 51140-04411.
51140-04411-13L
Unavailable
2
OUTER TUBE. LH (SILVER) | MODEL R/S
51140-04411-13L
Unavailable
7
STEERING STEM
51410-04430
Unavailable
11
BOLT
51352-04420
Unavailable
13
SPACER
51176-04420
Unavailable
14
GUIDE SPRING. NO.1
51172-04420
Unavailable
18
CLIP
51572-04410
Unavailable
20
WASHER (33.5XL0.5X4.2)
51356-04420
Unavailable
28
NUT, STEERING STEM | MODEL N/P/R This part replaces 51631-04410.
99800-10420
Unavailable
28
NUT, STEERING STEM | MODEL S
99800-10420
Unavailable
