- Partiron
- OEM Parts
- Suzuki
- Motorcycle
- 1995
- JR50 (1995)
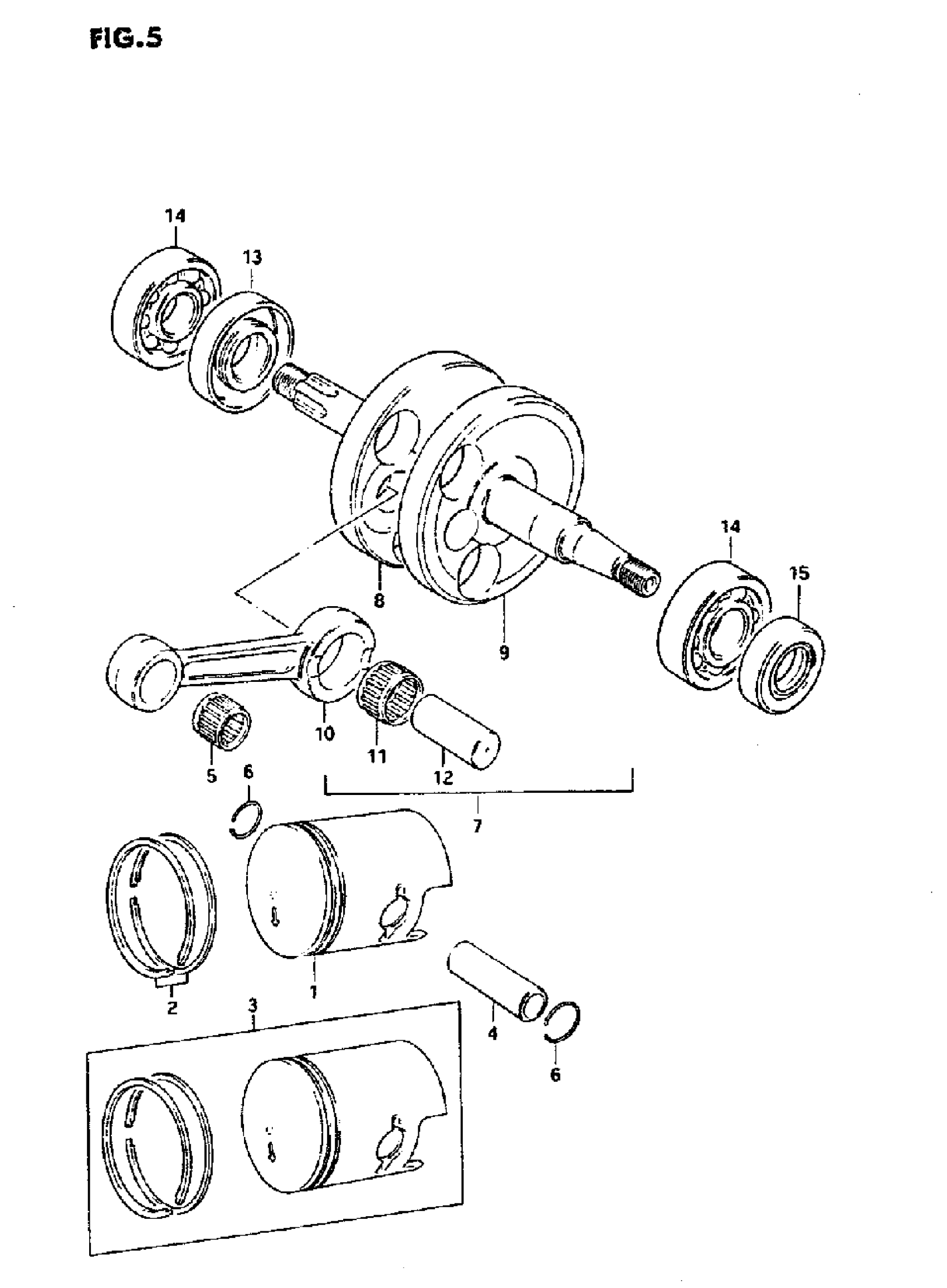
CRANKSHAFT
Suzuki JR50 (1995) CRANKSHAFT Diagram
#
Description
Price
7
CRANKSHAFT ASSY
12200-04401
Unavailable
8
CRANKSHAFT, RH
12221-04400
Unavailable
9
CRANKSHAFT, LH
12261-04000
Unavailable
