- Partiron
- OEM Parts
- Kawasaki
- watercraft
- 2018
- JET SKI® ULTRA® 310X SE
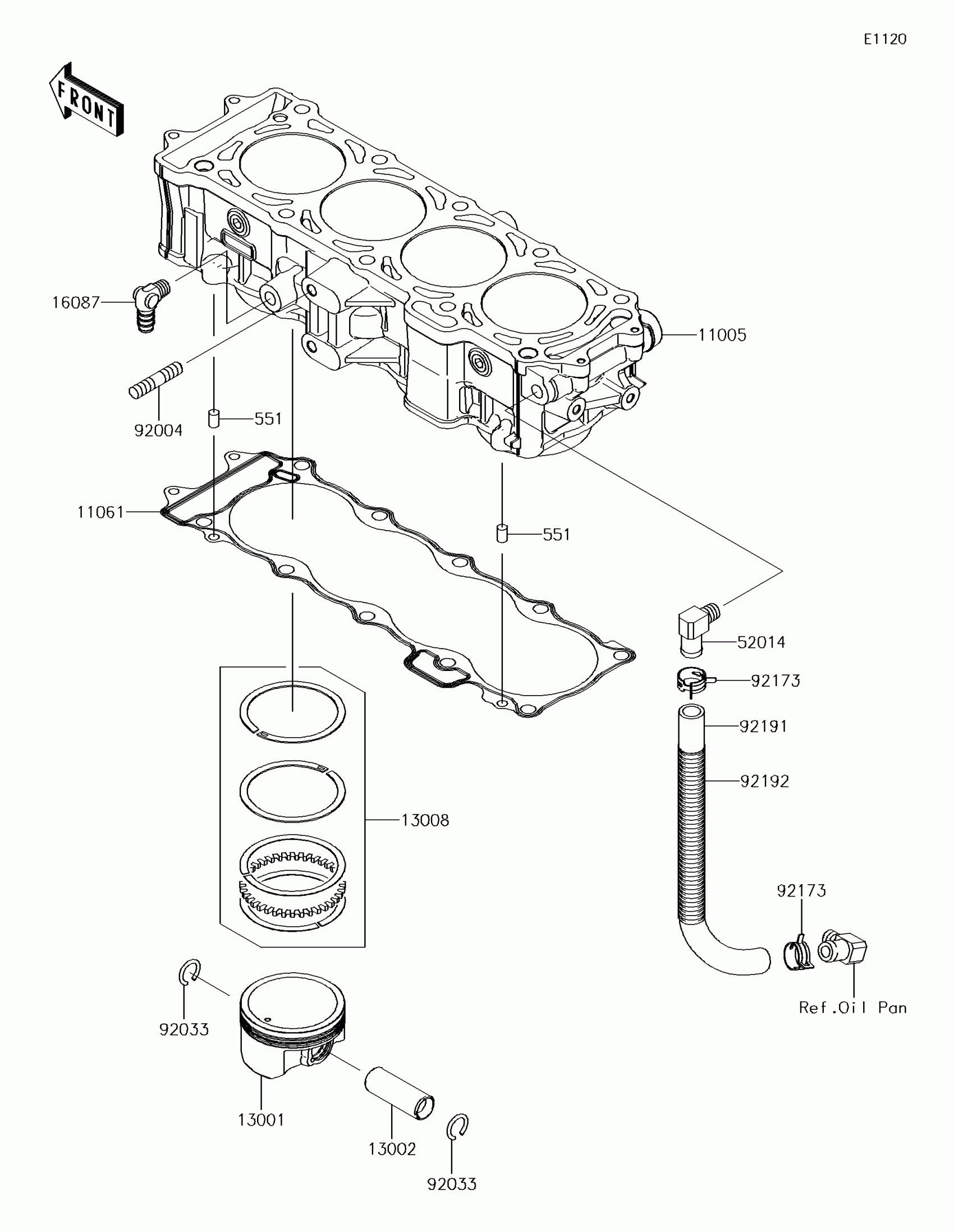
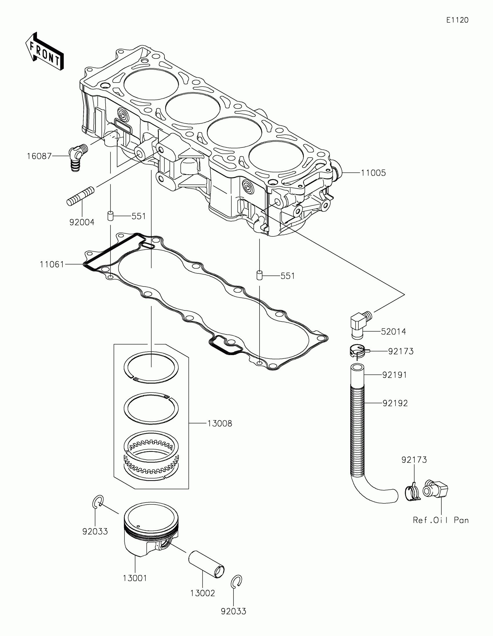
Cylinder/Piston(s)
Kawasaki JET SKI® ULTRA® 310X SE Cylinder/Piston(s) Diagram
#
Description
Price
Cylinder/Piston(s)
#
Edit ride
