Partiron

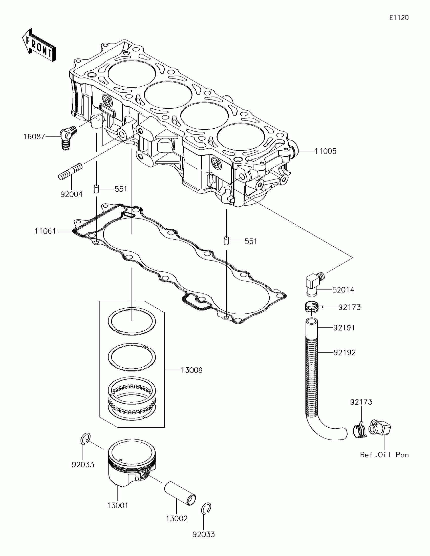
Kawasaki JET SKI® ULTRA® 310X Cylinder/Piston(s) Diagram

#

Description
Price

11005

CYLINDER-ENGINE

11005-0630

$1,611.07

11061

GASKET,CYLINDER BASE

11061-3770

$64.88

13001

PISTON-ENGINE

13001-0787

$102.41

13002

PIN-PISTON

13002-1131

$32.43

13008

RING-SET-PISTON

13008-0564

$72.73

16087

VALVE-CHECK

16087-3714

$112.93

52014

ELBOW

52014-3717

$33.08

551

PIN-DOWEL

551R0812

$7.91

92004

STUD,10X32

92004-3759

$7.90

92033

RING-SNAP

92033-1188

$3.89

92173

CLAMP

92173-1039

$3.02

92191

TUBE,BREATHER

92191-3983

$16.26

92192

TUBE,CORRUGATED,L=265

92192-1083

$17.74