Partiron

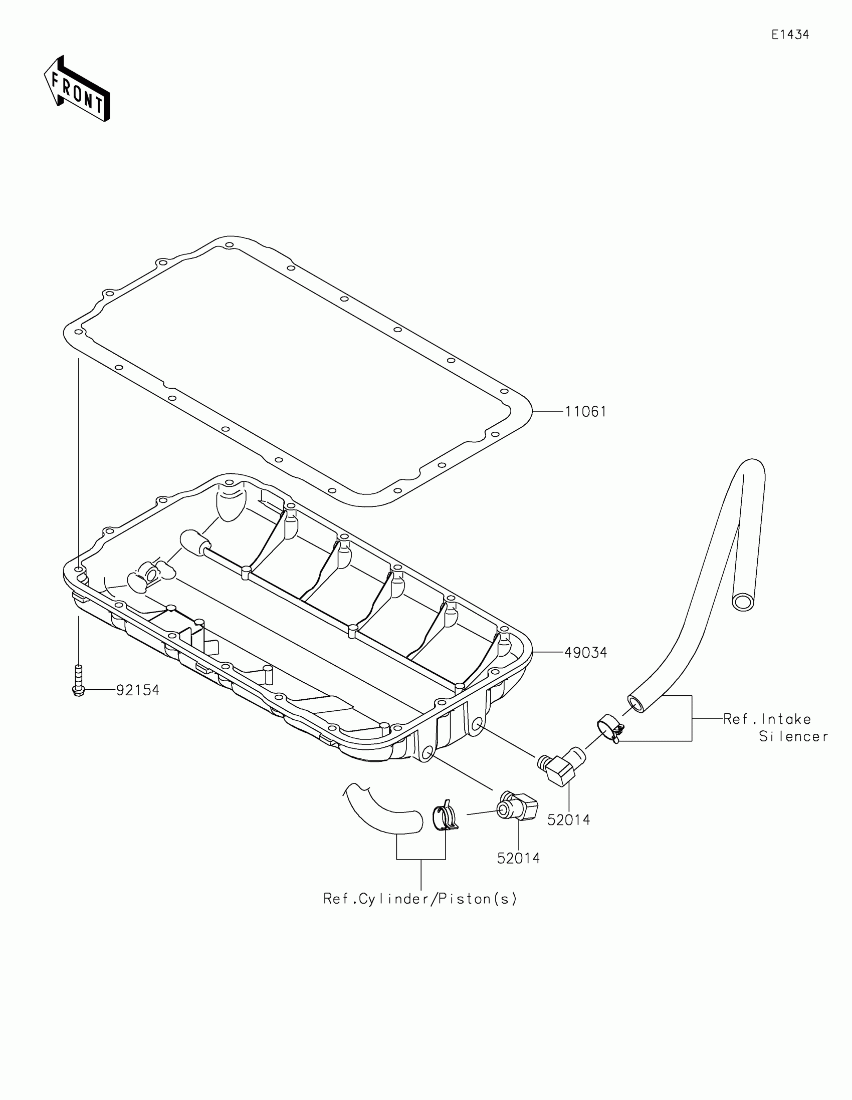
Kawasaki JET SKI® ULTRA® 310R Oil Pan Diagram

#

Description
Price

11061

GASKET,OIL PAN

11061-3710

$32.10

49034

PAN-OIL

49034-3702

$242.55

52014

ELBOW

52014-3717

$33.08

92154

BOLT,FLANGED,6X25

92154-0823

$2.32