Partiron

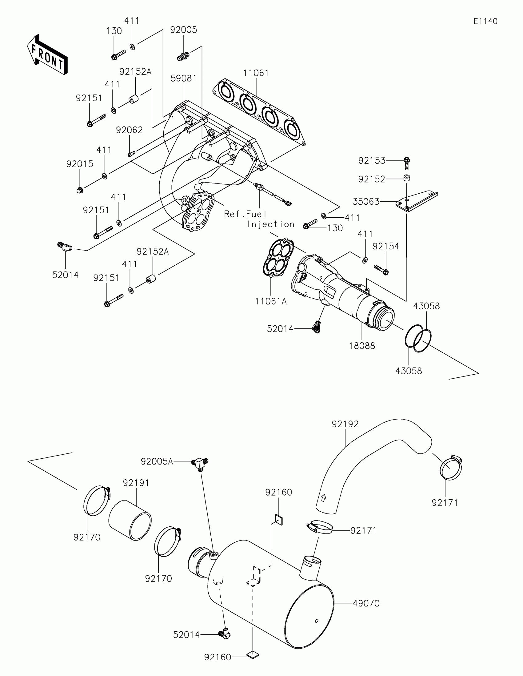
Kawasaki JET SKI® ULTRA® 160LX-S ANGLER Muffler(s) Diagram

#

Description
Price

11061

GASKET,MANIFOLD EXHAUST

11061-3713

$40.44

11061A

GASKET,PIPE EXHAUST

11061-3714

$18.20

18088

PIPE-EXHAUST

18088-3723

$377.43

35063

STAY

35063-3704

$28.86

43058

RING,GASKET

43058-3733

$19.74

49070

MUFFLER-COMP

49070-0045

$849.58

52014

ELBOW

52014-3711

$30.12

59081

MANIFOLD-EXHAUST

59081-3741

$672.45

92005

FITTING

92005-3714

$18.72

92005A

FITTING

92005-3751

$52.29

92015

NUT,CAP,8MM

92015-1371

$5.00

92062

NOZZLE

92062-0562

$10.60

92151

BOLT,8X60

92151-3730

$7.27

92152

COLLAR,8.2X17X10

92152-3740

$53.47

92152A

COLLAR

92152-3812

$7.63

92153

BOLT,FLANGED,8X30

92153-3722

$2.55

92154

BOLT,FLANGED,8X40

92154-0992

$3.02

92160

DAMPER,25X25

92160-3864

$3.32

92170

CLAMP

92170-3764

$10.35

92171

CLAMP

92171-3723

$6.35

92191

TUBE,PIPE EX-MUFFLER

92191-3986

$21.54

92192

TUBE,W/M-TAIL PIPE

92192-1173

$51.33

130

BOLT-FLANGED,8X40

130CD0840

$4.20

411

WASHER-PLAIN,8MM

411S0800

$3.09