- Partiron
- OEM Parts
- Kawasaki
- watercraft
- 2010
- Jet Ski® STX-15F
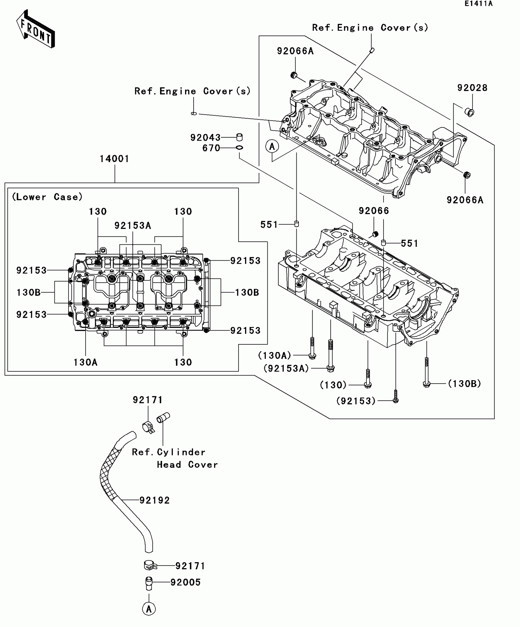
Crankcase(A9F/AAF)
Kawasaki Jet Ski® STX-15F Crankcase(A9F/AAF) Diagram
#
Description
Price
92171
CLAMP,TUBE
92171-3710
Unavailable
Crankcase(A9F/AAF)
#
92171
92171-3710
Unavailable
Edit ride
