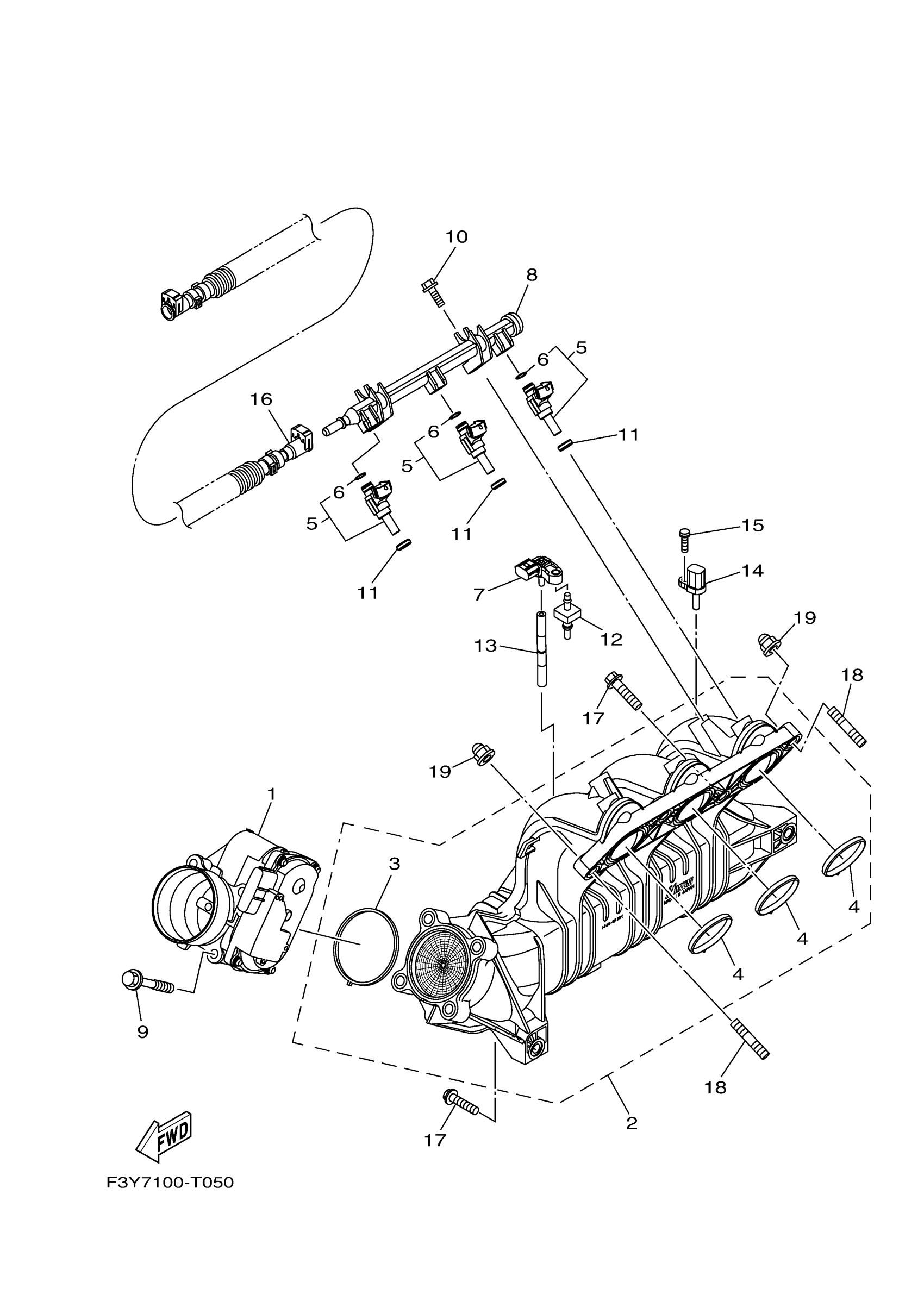
Yamaha JB1050Y (JET BLASTER) F6C2 2023 INTAKE Diagram
#
Description
Price
1
THROTTLE BODY ASSY
6EY-13750-01-00
Unavailable
2
MANIFOLD, INTAKE 1
6EY-13641-03-00
Unavailable
3
. GASKET, INSULATING
6EY-14156-00-00
Unavailable
4
. GASKET
6EY-14126-00-00
Unavailable
6
. O-RING
68V-1416A-00-00
Unavailable
8
DELIVERY PIPE
6EY-12880-01-00
Unavailable
9
BOLT, FLANGE
90105-08243-00
Unavailable
11
. GASKET, MANIFOLD
8FP-13556-10-00
Unavailable
12
GROMMET
6BH-14445-00-00
Unavailable
13
HOSE, VACUUM SENSING 3
6EY-13532-00-00
Unavailable
16
FUEL HOSE ASSY
6CN-2450B-10-00
Unavailable
17
BOLT, WITH WASHER
97513-08535-00
Unavailable
18
BOLT, STUD
95612-08625-00
Unavailable
19
NUT, CROWN(4BR)
90176-08080-00
Unavailable
