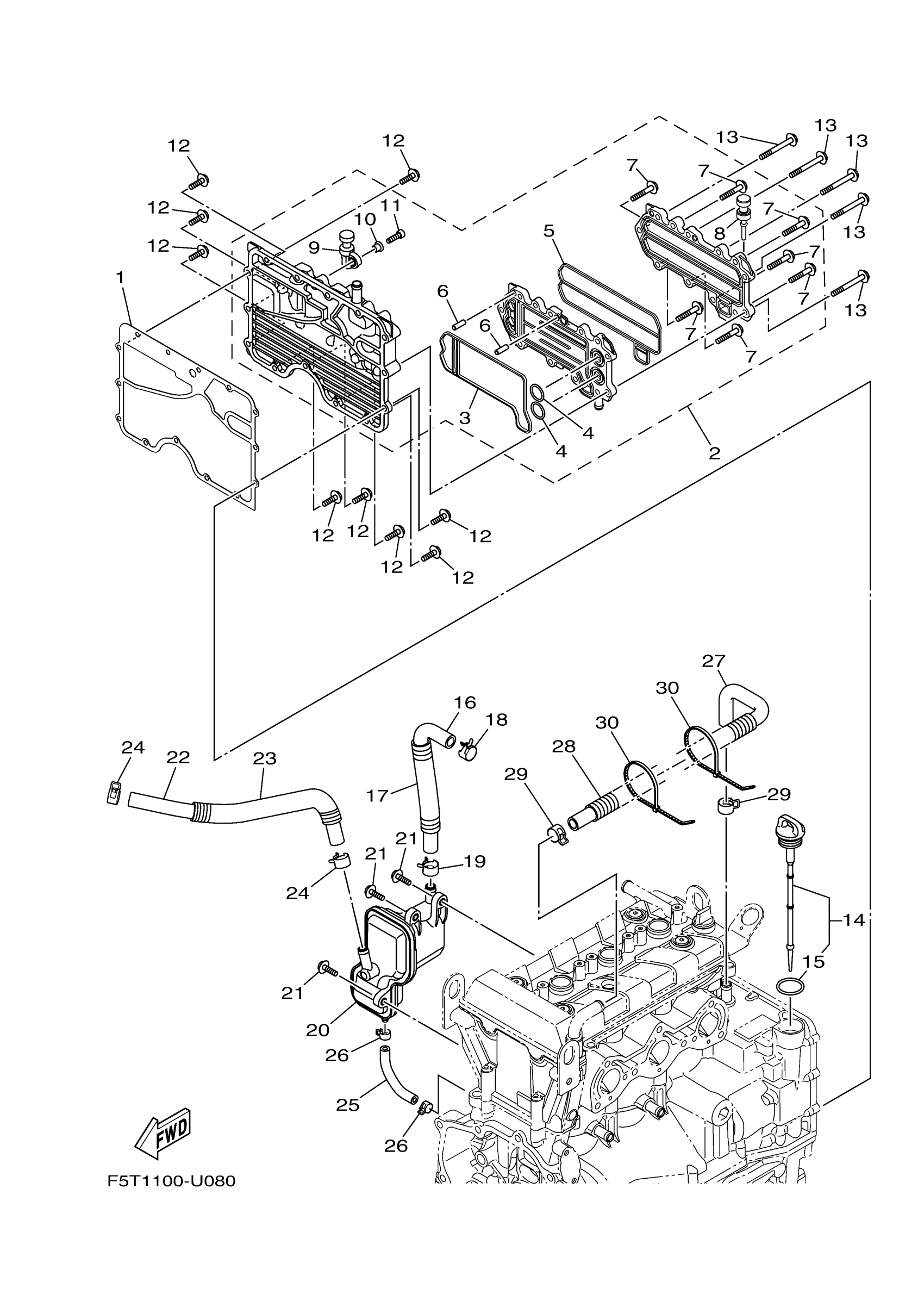
Yamaha JB1050FB (JETBLASTER) F7R2 2025 OIL COOLER Diagram
#
Description
Price
1
. GASKET
6EY-15453-01-00
Unavailable
2
OIL COOLER ASSY
6EY-13470-02-00
Unavailable
3
GASKET, MANIFOLD
6EY-13556-01-00
Unavailable
5
GASKET
6EY-13557-01-00
Unavailable
6
. PIN, DOWEL
93606-19M23-00
Unavailable
7
BOLT, FLANGE
95814-06035-00
Unavailable
9
. GROMMET
6S5-81364-11-00
Unavailable
10
COLLAR
90387-06M05-00
Unavailable
11
. BOLT
91380-06020-00
Unavailable
14
PLUG, OIL LEVEL
6EY-15362-10-00
Unavailable
16
PIPE, BREATHER 1
6EY-11166-10-00
Unavailable
17
HOSE, WITH SPRING
90447-19004-00
Unavailable
18
CLIP
90467-200A3-00
Unavailable
19
CLIP
90467-170A4-00
Unavailable
20
SEPERATOR, OIL
6EY-11164-00-00
Unavailable
21
BOLT (6E0)
90105-06M15-00
Unavailable
22
HOSE (L420)
90445-18020-00
Unavailable
23
HOSE (L350)
90446-24MF4-00
Unavailable
24
CLIP
90467-170A4-00
Unavailable
25
PIPE, BREATHER 4
6EY-11125-00-00
Unavailable
26
CLIP
90467-110A1-00
Unavailable
27
PIPE, BREATHER 3
6EY-11126-10-00
Unavailable
28
TUBE (L300)
90447-19014-00
Unavailable
29
CLIP
90467-170A4-00
Unavailable
30
CLAMP(3XW)
90464-35132-00
Unavailable
