Partiron

Yamaha JB1050DB (JETBLASTER DLX 3UP) F5S1 2025 STEERING 3 Diagram

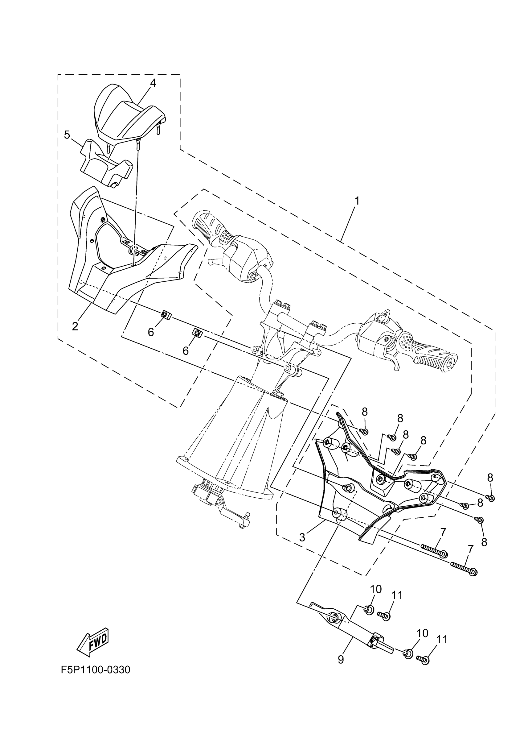
#

Description
Price

1

STEERING PAD COMP

F5P-U142A-00-00

Unavailable

2

. PAD, STEERING 1

F5P-U143D-00-00

Unavailable

3

. PAD, STEERING 2

F5P-U143E-00-00

Unavailable

4

. COVER, PAD

F5P-U142D-00-00

Unavailable

5

. PAD 1

F5P-U156E-00-00

Unavailable

6

NUT

F3X-U517E-00-00

Unavailable

7

BOLT

F3Y-U1355-19-00

Unavailable

8

SCREW

F2S-U13C1-00-00

Unavailable

9

HOOK,MOORING 1

F5P-UFTAA-00-00

Unavailable

10

COLLAR

F5G-U151R-00-00

Unavailable

11

SCREW

F5G-U7823-00-00

Unavailable