Partiron

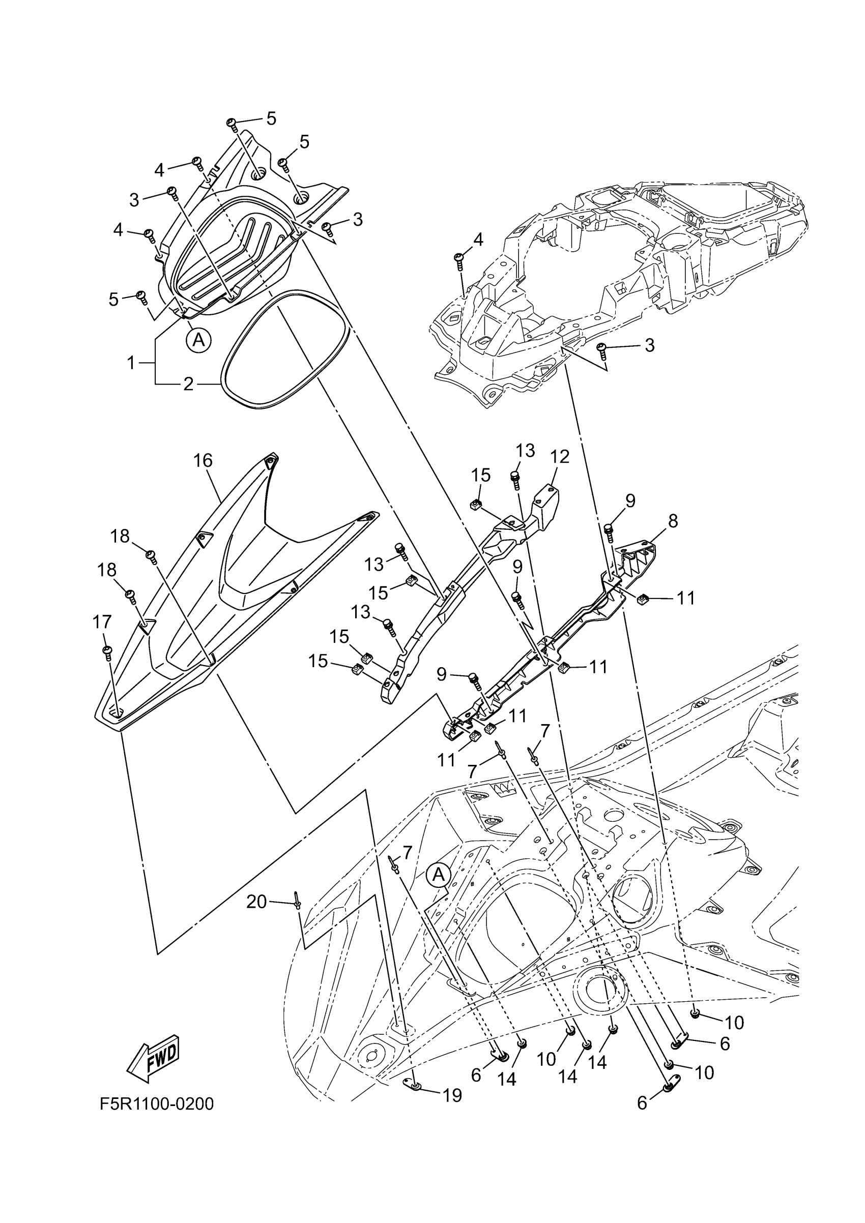
Yamaha JB1050BB (JETBLASTER PRO 2UP) F5M1 2025 ENGINE HATCH 1 Diagram

#

Description
Price

1

BOWLOCKER ASSY

F5P-U475A-00-00

Unavailable

2

. PACKING 1

F3Y-U2663-00-00

Unavailable

3

SCREW

F5G-U7823-09-00

Unavailable

4

SCREW

F5G-U7823-09-00

Unavailable

5

SCREW

F5G-U7823-00-00

Unavailable

6

PLATE, FIX

F2X-U5175-00-00

Unavailable

7

RIVET 1

F4P-U516R-01-00

Unavailable

8

BRKT., COVER SIDE 1

F5P-U377M-00-00

Unavailable

9

BOLT, WITH WASHER

90119-06892-00

Unavailable

10

NUT, LOCK

F2N-U142L-00-00

Unavailable

11

NUT

F3X-U517E-00-00

Unavailable

12

BRKT, COVER SIDE 2

F5P-U377N-00-00

Unavailable

13

BOLT, WITH WASHER

90119-06892-00

Unavailable

14

NUT, LOCK

F2N-U142L-00-00

Unavailable

15

NUT

F3X-U517E-00-00

Unavailable

16

INNER, ENGINE HATCH

F5P-U519G-00-00

Unavailable

17

SCREW

F5G-U7823-00-00

Unavailable

18

SCREW

F5G-U7823-09-00

Unavailable

19

PLATE, FIX

F2X-U5175-00-00

Unavailable

20

RIVET 1

F4P-U516R-01-00

Unavailable