Partiron

Yamaha IT490K (IT490) 1983 SIDE COVER Diagram

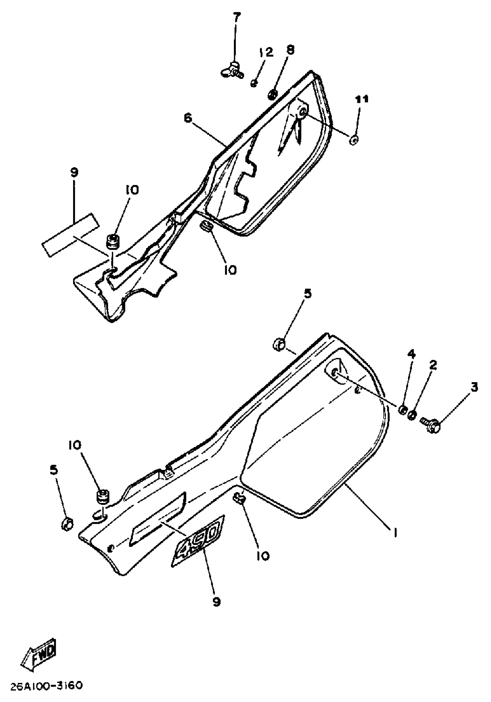
#

Description
Price

1

COVER, SIDE 1

26A-21711-00-26

Unavailable

2

WASHER, PLAIN

92990-08200-00

Unavailable

3

BOLT, FLANGE(8AB)

95817-08020-00

$9.49

4

COLLAR (25Y)

90387-083J6-00

$16.99

5

DAMPER, LOCATING 1

22W-24181-00-00

$6.99

6

COVER, SIDE 2

26A-21721-00-26

Unavailable

7

BOLT, WING

90122-06019-00

Unavailable

8

WASHER, PLATE (583 REAR FENDER

90201-06571-00

$9.49

9

EMBLEM

26A-21737-00-00

Unavailable

10

DAMPER, SIDE COVER (437)

90480-12053-00

$7.49

11

NUT, RATCH CLAMP (462)

90179-06013-00

$7.49

12

WASHER, SPRING

92995-06100-00

Unavailable