- Partiron
- OEM Parts
- Yamaha
- motorcycle
- 1980
- IT425G (IT425) 1980
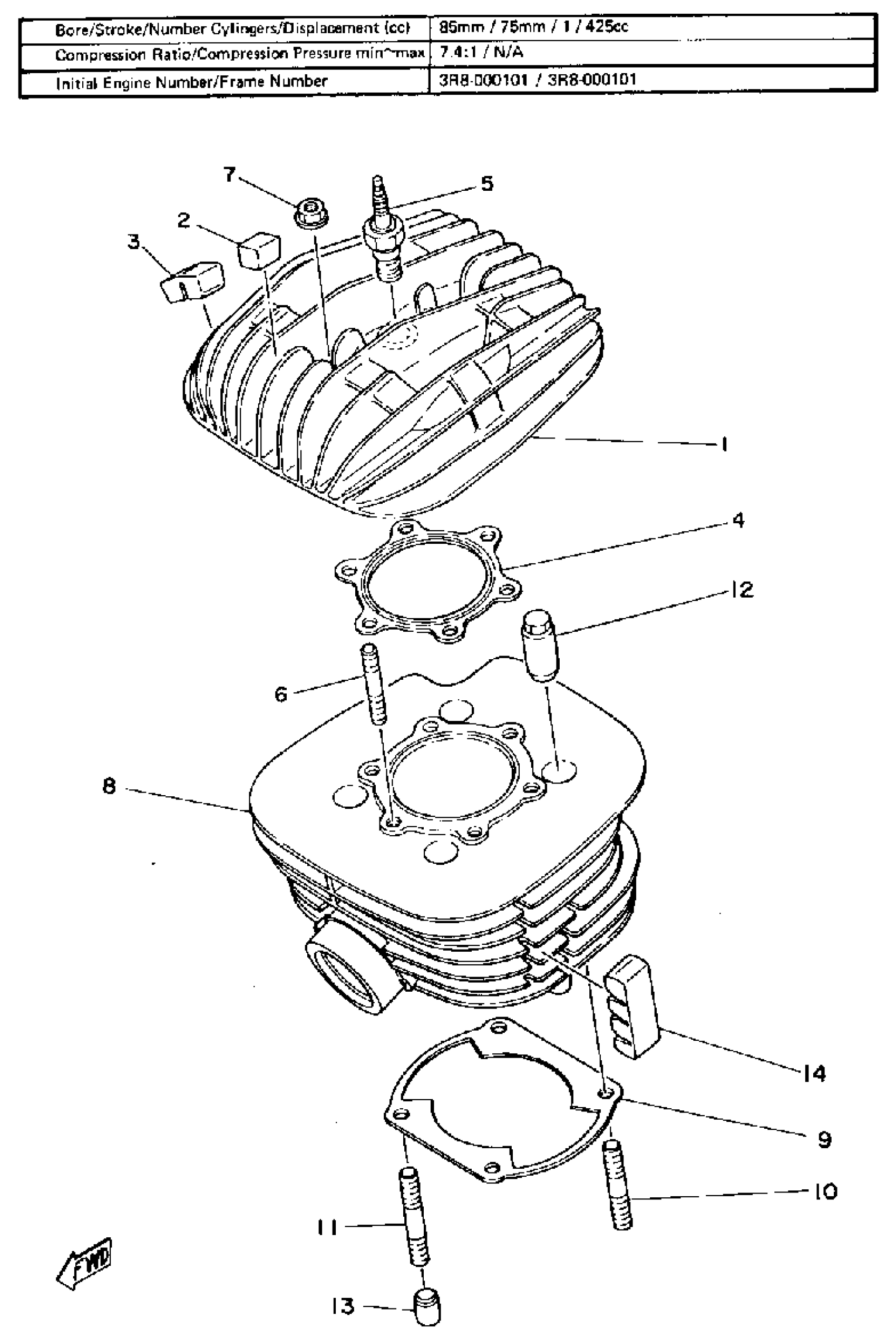
CYLINDER
Yamaha IT425G (IT425) 1980 CYLINDER Diagram
#
Description
Price
1
HEAD, CYLINDER 1
(3R8-11111-00-00)
Unavailable
3
ABSORBER 1
1W2-11161-00-00
Unavailable
3
ABSORBER 1
(1W6-11161-00-00)
Unavailable
5
BR8ES NGK SCREW TOP 4PK
BR8-ES000-00-00
Unavailable
8
CYLINDER 1
(3R8-11311-00-00)
Unavailable
9
GASKET,CYLINDER
2X5-11351-01-00
Unavailable
11
BOLT, STUD
90116-10258-00
Unavailable
14
ABSORBER 3
2A6-11127-00-00
Unavailable
