- Partiron
- OEM Parts
- Yamaha
- motorcycle
- 1980
- IT425G (IT425) 1980
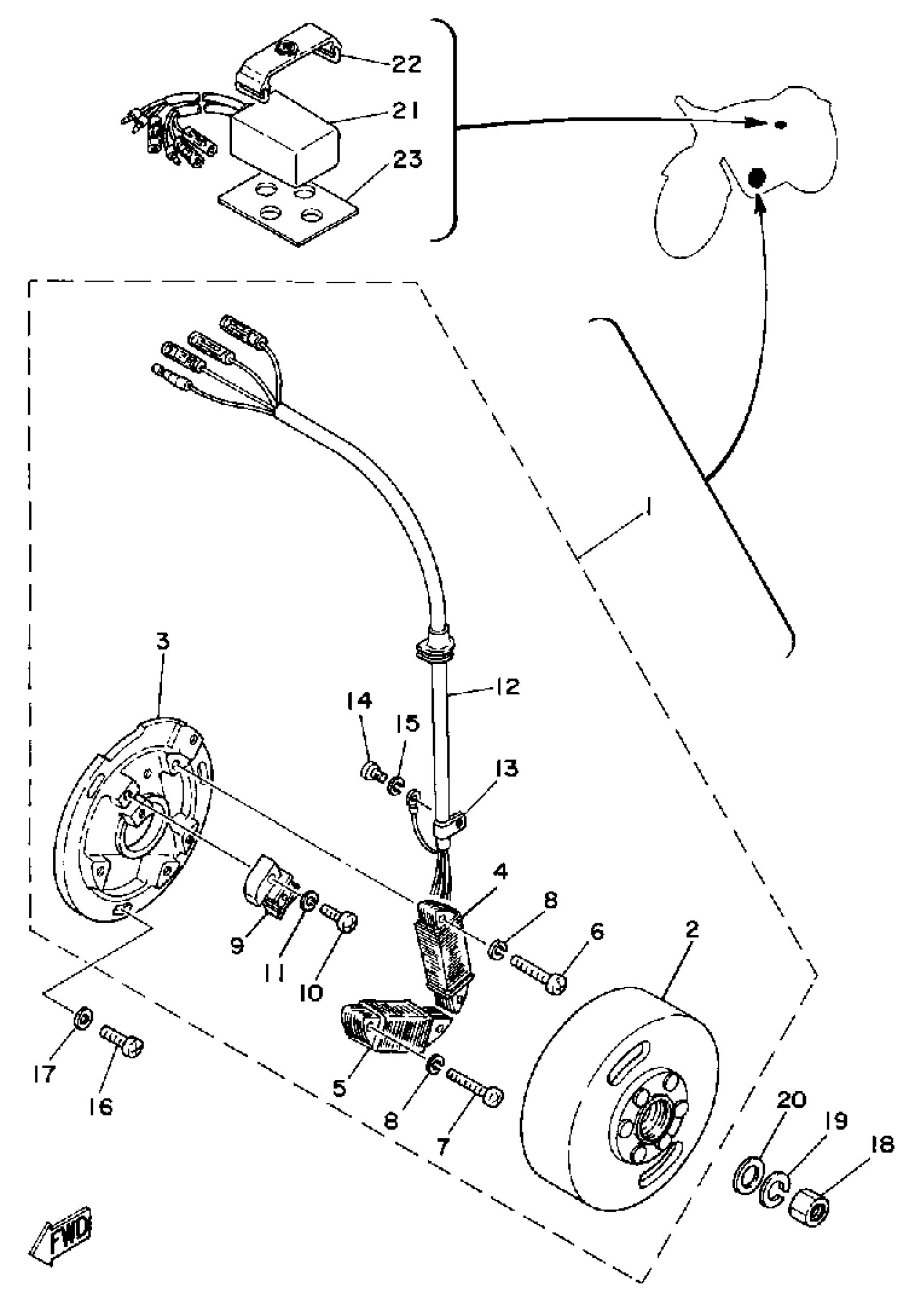
C - D - I - MAGNETO
Yamaha IT425G (IT425) 1980 C - D - I - MAGNETO Diagram
#
Description
Price
1
CDI MAGNETO ASSEMBLY
(2X8-85500-20-00)
Unavailable
2
ROTOR ASSEMBLY
(2X9-85550-20-00)
Unavailable
3
. BASE, MAGNETO
1M2-85509-20-00
Unavailable
4
. COIL SOURCE 2
2X9-85512-20-00
Unavailable
5
COIL, LIGHTING 1
(1W6-85513-20-00)
Unavailable
9
. COIL, PULSER
2X9-85580-20-00
Unavailable
12
LEAD WIRE ASSEMBLY
(2X7-85515-20-00)
Unavailable
14
SCREW, PAN HEAD(3XP)
98517-04006-00
Unavailable
16
SCREW PAN HEAD
98580-06020-00
Unavailable
17
WASHER, PLAIN (646)
92990-06600-00
Unavailable
18
NUT(55K)
90170-12347-00
Unavailable
19
YBS67-12 WASHER,SPRING
92990-12100-00
Unavailable
20
WASHER, PLATE (583)
90201-12593-00
Unavailable
21
CDI UNIT ASSEMBLY
2X9-85540-20-00
Unavailable
22
BAND, TOOL
21V-21376-00-00
Unavailable
23
DAMPER
3RB-85547-01-00
Unavailable
