- Partiron
- OEM Parts
- Yamaha
- motorcycle
- 1979
- IT400F (IT400) 1979
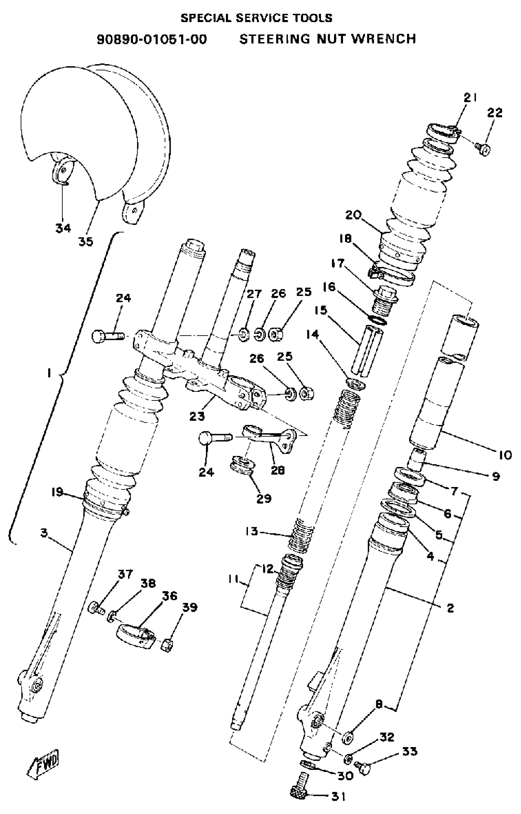
FRONT FORK
Yamaha IT400F (IT400) 1979 FRONT FORK Diagram
#
1
FRONT FORK ASSEMBLY
(2X7-23101-00-00)
Unavailable
2
TUBE, OUTER 1
(1W2-23126-01-00)
Unavailable
3
TUBE, OUTER 2
(1W2-23136-01-00)
Unavailable
5
.. CLIP, OIL SEAL
1W1-23156-L0-00
Unavailable
7
.. COVER, DUST SEAL
99999-01510-00
Unavailable
8
.. CAP, FRONT FORK
1W1-23168-L0-00
Unavailable
10
INNER TUBE 1
(2X7-23110-00-00)
Unavailable
11
CYLINDER, FRTFRK
(2X7-23170-00-00)
Unavailable
12
.. SPRING, REBOUND
2X7-23151-00-00
Unavailable
13
SPRING, FRONT FORK
(2X7-23141-00-00)
Unavailable
13
SPRING, FRONT FORK
(2X7-23141-10-00)
Unavailable
13
SPRING, FRONT FORK
(2X7-23141-20-00)
Unavailable
14
. SEAT, SPRING UPPER
1W1-23142-L0-00
Unavailable
15
SPACER
(1W1-23118-L0-00)
Unavailable
15
SPACER
4V5-23118-L1-00
Unavailable
15
SPACER
4V5-23118-L1-00
Unavailable
16
O-RING
1W1-23114-L0-00
Unavailable
17
. BOLT, CAP
2X7-23111-00-00
Unavailable
18
HOLDER, CABLE 1
1W1-23318-L0-00
Unavailable
19
BAND
509-23489-L0-00
Unavailable
20
BOOT, FRONT FORK
(1W1-23191-L0-00)
Unavailable
21
BAND, BOOT
341-92090-60-00
Unavailable
22
SCREW
509-23194-L0-00
Unavailable
23
UNDER BRACKET
(2X7-23340-00-33)
Unavailable
24
BOLT (1E6)
90101-08340-00
Unavailable
25
NUT(6L2)
95333-08600-00
Unavailable
26
YBS67-8 WASHER, SPRING
92990-08100-00
Unavailable
27
.. WASHER, PLATE
92990-08600-00
Unavailable
28
. HOLDER, CABLE
1W1-23317-01-00
Unavailable
29
GUIDE, WIRE
1W1-23389-00-00
Unavailable
30
GASKET
509-23158-L0-00
Unavailable
31
BOLT, HEXAGON SOCKET HEAD
3D8-23181-00-00
Unavailable
32
GASKET, DRAIN PLUG
122-23129-00-00
Unavailable
33
SCREW, PAN HEAD(3XP)
98517-04006-00
Unavailable
33
SCREW, PAN HEAD (713)
98580-04008-00
Unavailable
34
PLATE, NUMBER
1W2-23485-00-00
Unavailable
35
EMBLEM
1W2-23395-00-00
Unavailable
36
HOLDER, CABLE 1
1W2-23318-00-00
Unavailable
37
SCREW, PAN HEAD(4MY)
98507-05018-00
Unavailable
38
WASHER, PLAIN (646)
92990-05600-00
Unavailable
39
NUT, HEXAGON (663)
95380-05600-00
Unavailable
