#
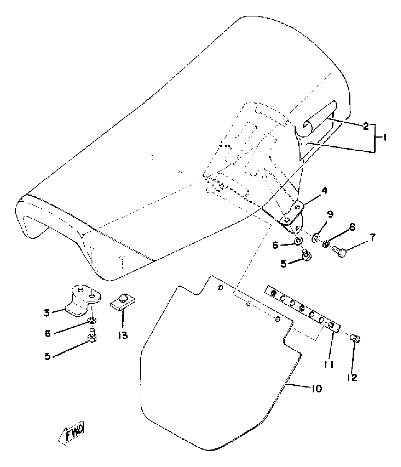
1
(1K7-W2473-00-00)
Unavailable
2
(509-24771-10-00)
Unavailable
3
2Y0-24748-00-00
Unavailable
4
(509-24738-02-00)
Unavailable
6
92995-06100-00
Unavailable
8
92995-06100-00
Unavailable
10
(483-21621-00-00)
Unavailable
11
(483-21615-00-00)
Unavailable
Edit ride
