- Partiron
- OEM Parts
- Yamaha
- motorcycle
- 1980
- IT250G (IT250) 1980
KICK STARTER
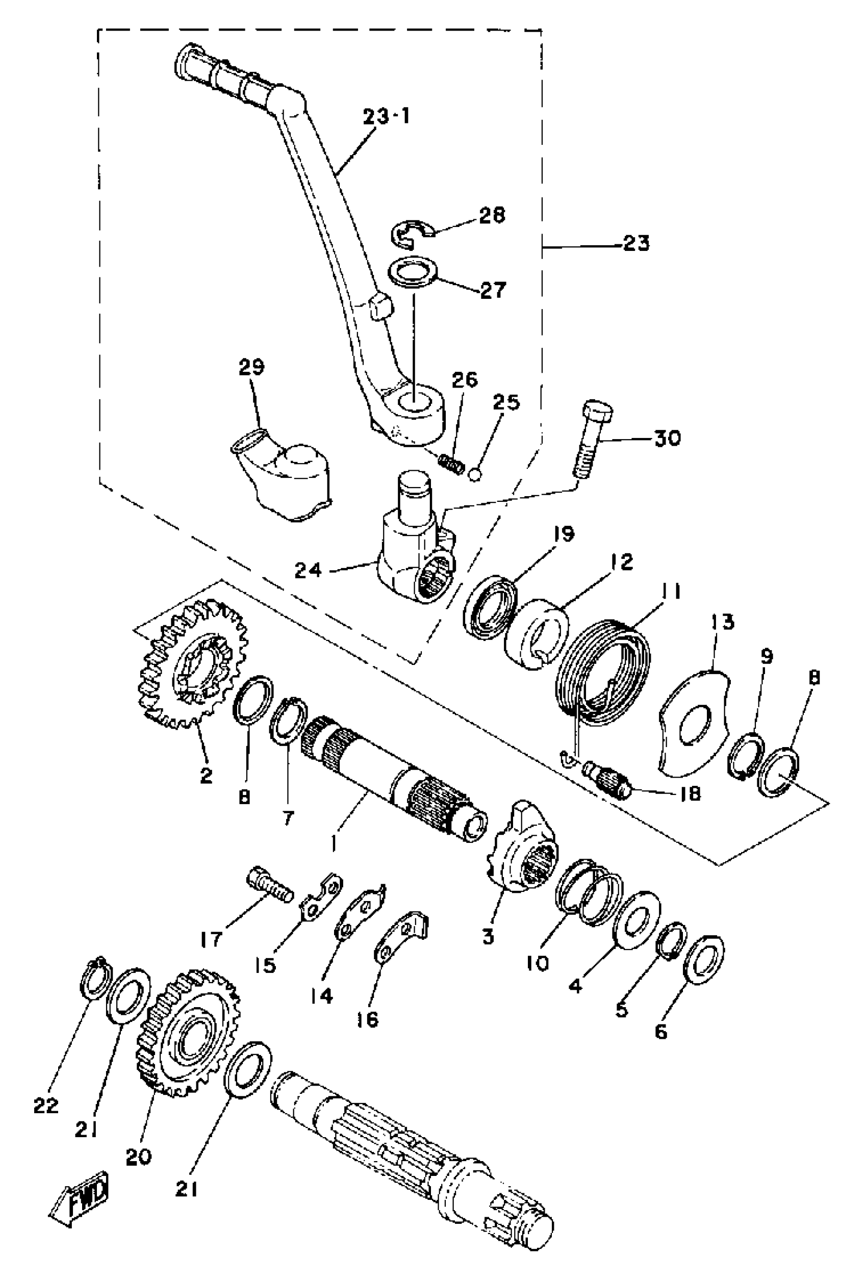
Yamaha IT250G (IT250) 1980 KICK STARTER Diagram
#
Description
Price
1
CRANK, KICK (2K7-15611-00-33)
2K7-15611-00-00
Unavailable
1
AXLE, KICK
(2K7-15661-01-00)
Unavailable
2
GEAR, KICK
(2K7-15641-01-00)
Unavailable
3
WHEEL, RATCHET
2K7-15671-01-00
Unavailable
4
WASHER, PLAIN (1JL)
90201-155K6-00
Unavailable
6
SHIM
132-15644-00-00
Unavailable
10
SPRING COMPRESSION168156750000
90501-16107-00
Unavailable
12
GUIDE, SPRING
3Y6-15664-00-00
Unavailable
15
WASHER, LOCK
214-15686-00-00
Unavailable
16
STOPPER
2NX-15668-00-00
Unavailable
17
BOLT, HEXAGON DEEP RECESS
97D95-06016-00
Unavailable
18
STOPPER, KICK SPRING
248-15668-00-00
Unavailable
19
OIL SEAL,SD-TYPE
93102-20309-00
Unavailable
20
GEAR, KICK IDLE
3R4-15651-00-00
Unavailable
21
WASHER, PLATE (525)
90201-17545-00
Unavailable
22
CIRCLIP(1EY)
99009-17400-00
Unavailable
23
KICK CRANK ASSEMBLY
(2K7-15620-00-00)
Unavailable
24
BOSS, KICK CRANK
583-15621-00-00
Unavailable
25
BALL (12R)
93507-32031-00
Unavailable
26
SPRING COMPRESSION278156220000
90501-12081-00
Unavailable
27
WASHER PLATE 278156130000
90201-15234-00
Unavailable
28
CIRCLIP
99006-10600-00
Unavailable
29
COVER, KICK LEVER
2K7-15618-00-00
Unavailable
30
BOLT, HEXAGON
97013-08030-00
Unavailable
