- Partiron
- OEM Parts
- Yamaha
- motorcycle
- 1980
- IT250G (IT250) 1980
HEADLIGHT
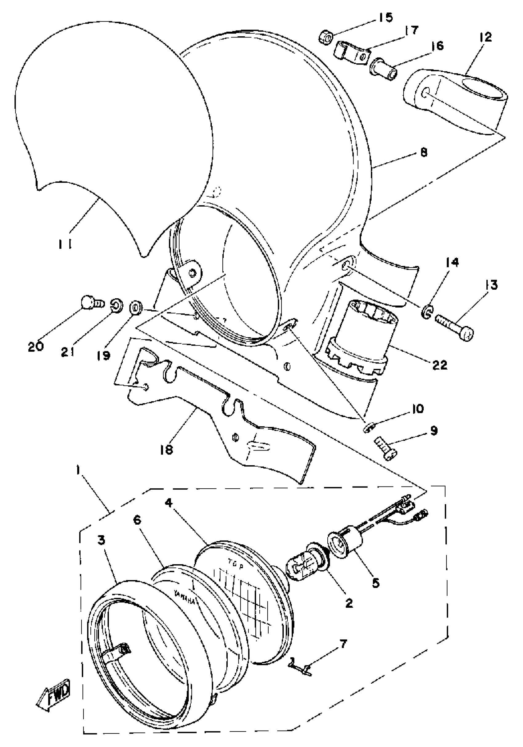
Yamaha IT250G (IT250) 1980 HEADLIGHT Diagram
#
Description
Price
1
. UNAVAILABLE IN PRICE BOOK
(3R8-84110-60-00)
Unavailable
1
UNAVAILABLE IN PRICE BOOK 001
(3R8-84110-61-00)
Unavailable
2
. BULB, HL 6V25/25W
527-84114-09-XX
Unavailable
3
.. RIM, HEADLIGHT
3R8-84115-60-00
Unavailable
4
. LENS ASSEMBLY
3R8-84120-60-00
Unavailable
5
. SOCKET
1W2-84112-60-00
Unavailable
5
. SOCKET CORD ASSEMBLY 001
3R8-84140-61-00
Unavailable
6
. COVER, HEADLIGHT
3R8-84144-60-00
Unavailable
7
. SPRING, REFLECTOR
1W2-84324-60-00
Unavailable
8
BODY ASSEMBLY, HEADLIGHT
3R8-84130-00-00
Unavailable
9
SCREW, PAN HEAD(6B0)
97885-05016-00
Unavailable
11
. EMBLEM, HEADLIGHT
3R8-84141-01-00
Unavailable
12
DAMPER
(3R8-84163-00-00)
Unavailable
13
SCREW, PAN HEAD(6E0)
97885-06030-00
Unavailable
14
WASHER, PLATE
90201-06747-00
Unavailable
15
NUT SELFLOCKING (656)
90185-06062-00
Unavailable
16
. COLLAR, SCREW
3R8-84133-00-00
Unavailable
17
CLAMP 363154850100
90462-05005-00
Unavailable
18
. BRACKET, LOWER 1
3R8-84181-00-00
Unavailable
19
WASHER, PLATE (583 REAR FENDER
90201-06571-00
Unavailable
20
SCREW, PAN HEAD(62J)
97885-06012-00
Unavailable
21
WASHER, SPRING
92995-06100-00
Unavailable
22
. DAMPER
3R8-84164-00-00
Unavailable
