- Partiron
- OEM Parts
- Yamaha
- motorcycle
- 1981
- IT175H (IT175) 1981
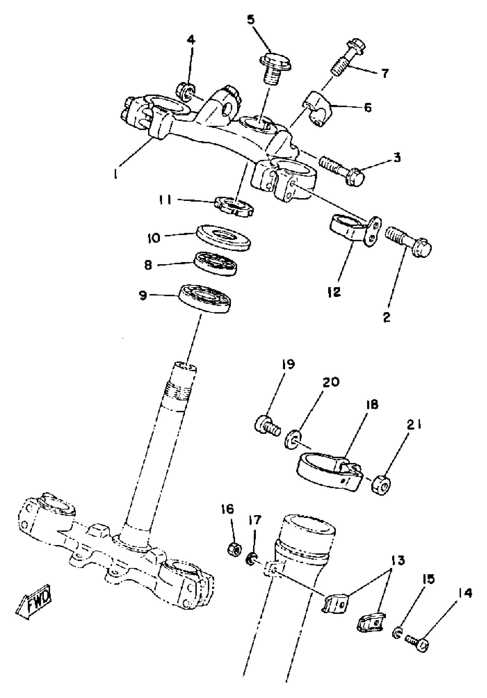
STEERING
Yamaha IT175H (IT175) 1981 STEERING Diagram
#
Description
Price
1
CROWN, HANDLE
5X3-23435-01-98
Unavailable
10
COVER, BALL RACE 2
1W1-23416-00-00
Unavailable
15
WASHER, SPRING
92995-06100-00
Unavailable
16
NUT, HEXAGON
95380-06600-00
Unavailable
17
WASHER, PLAIN (646)
92990-06600-00
Unavailable
18
HOLDER, CABLE 1
1W2-23318-00-00
Unavailable
19
SCREW, PAN HEAD(4MY)
98507-05018-00
Unavailable
20
WASHER, PLAIN (646)
92990-05600-00
Unavailable
21
NUT, HEXAGON (663)
95380-05600-00
Unavailable
