- Partiron
- OEM Parts
- Yamaha
- motorcycle
- 1981
- IT175H (IT175) 1981
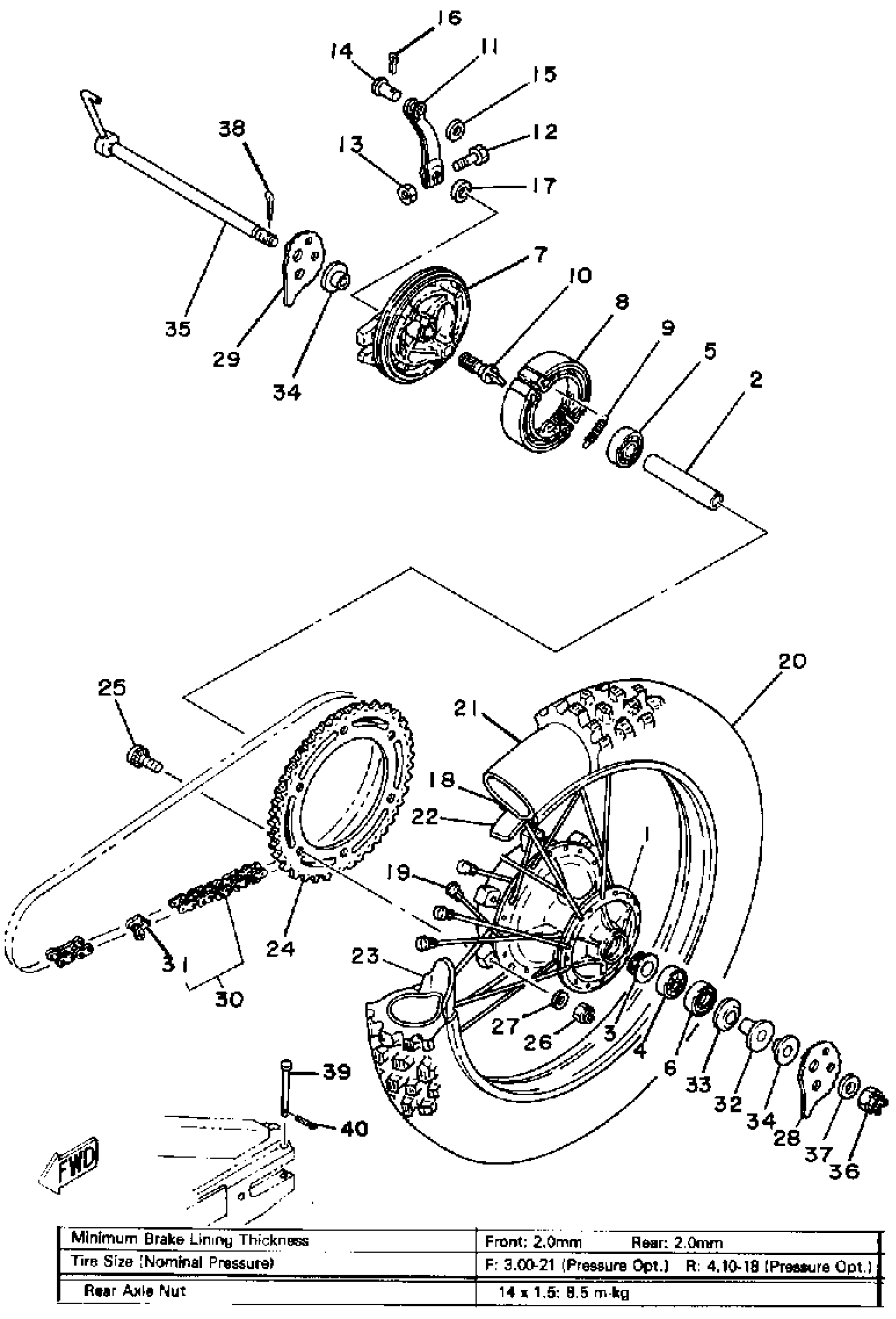
REAR WHEEL
Yamaha IT175H (IT175) 1981 REAR WHEEL Diagram
#
1
HUB, REAR
3R3-25311-02-98
Unavailable
2
SPACER, BEARING
3R3-25317-00-00
Unavailable
6
OIL SEAL, DD-TYPE
93106-22017-00
Unavailable
7
PLATE BRAKE SHOE
99999-02405-00
Unavailable
8
BRAKE SHOE SET-2PCS
437-W2536-00-00
Unavailable
9
SPRING (5T9)
90506-17328-00
Unavailable
10
CAMSHAFT
26A-25351-00-00
Unavailable
11
LEVER, CAMSHAFT
3R6-25355-01-00
Unavailable
13
NUT, HEXAGON
95380-06600-00
Unavailable
14
PIN, CLEVIS
3R6-27237-00-00
Unavailable
16
PIN, COTTER(6L5)
91490-25030-00
Unavailable
17
SEAL, CAM SHAFT
148-25359-00-00
Unavailable
18
RIM 1.85X18
94418-18245-00
Unavailable
19
SPOKE SET, REAR
4V2-25304-00-00
Unavailable
20
410-18 MARK 2 (TT)
(94141-18655-00)
Unavailable
21
TUBE (2RH)
94232-18113-00
Unavailable
22
BAND, RIM (2J4)
94340-18086-00
Unavailable
23
SPACER, BEAD
2X3-25394-00-00
Unavailable
24
SPROCKET, DRIVEN (42T)
26A-25442-51-00
Unavailable
24
SPROCKET, DRIVEN
26A-25444-51-00
Unavailable
24
SPROCKET, DRIVEN
26A-25446-51-00
Unavailable
25
BOLT, HEX SKT HEAD
90110-08038-00
Unavailable
26
NUT, SELF-LOCKING (3Y2)
90185-08089-00
Unavailable
27
WASHER, PLAIN
92990-08200-00
Unavailable
28
PULLER, CHAIN (L.H)
1W2-25388-01-00
Unavailable
29
PULLER, CHAIN (R.H)
1W2-25389-01-00
Unavailable
30
520D5-100L DID (94515-20100)
9Y585-20099-00
Unavailable
31
JOINT, CHAIN
94681-68001-00
Unavailable
32
COLLAR
90387-152A3-00
Unavailable
33
COVER, HUB DUST
3R3-25367-00-00
Unavailable
34
BUSH, SOLID
90381-15034-00
Unavailable
35
AXLE, WHEEL
3R6-25381-00-00
Unavailable
36
NUT, CASTLE(2UJ)
90171-14056-00
Unavailable
37
WASHER (525)
90201-15238-00
Unavailable
38
PIN, COTTER
91490-30030-00
Unavailable
39
PIN,CLEVIS
91701-06055-00
Unavailable
40
PIN, COTTER
91490-20025-00
Unavailable
