- Partiron
- OEM Parts
- Yamaha
- motorcycle
- 1980
- IT175G (IT175) 1980
CYLINDER
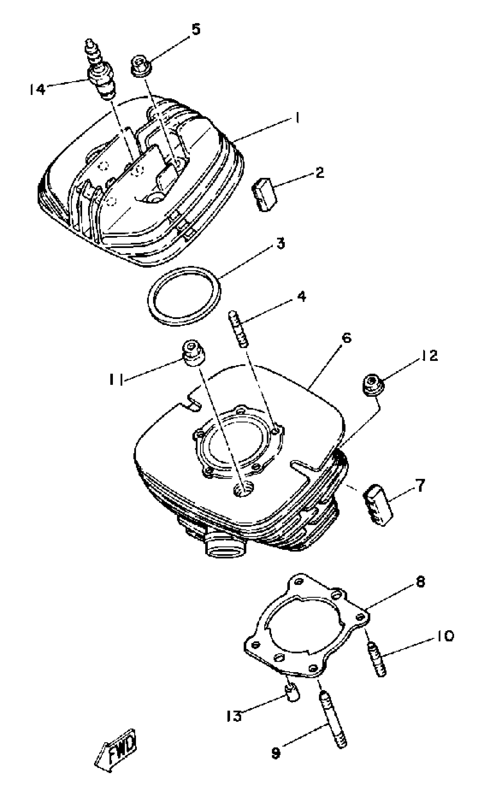
Yamaha IT175G (IT175) 1980 CYLINDER Diagram
#
Description
Price
1
HEAD, CYLINDER 1
3R6-11111-00-00
Unavailable
2
ABSORBER 1
3R6-11161-00-00
Unavailable
3
GASKET, CYLINDER HEAD 1
3R6-11181-00-00
Unavailable
6
CYLINDER 1
3R6-11311-00-00
Unavailable
7
ABSORBER 2
3R6-11162-00-00
Unavailable
9
BOLT, STUD
90116-08319-00
Unavailable
14
CHAMPION N2G 10PK
(CMP-N2G00-00-00)
Unavailable
