- Partiron
- OEM Parts
- Yamaha
- motorcycle
- 1979
- IT175F (IT175) 1979
FUEL TANK
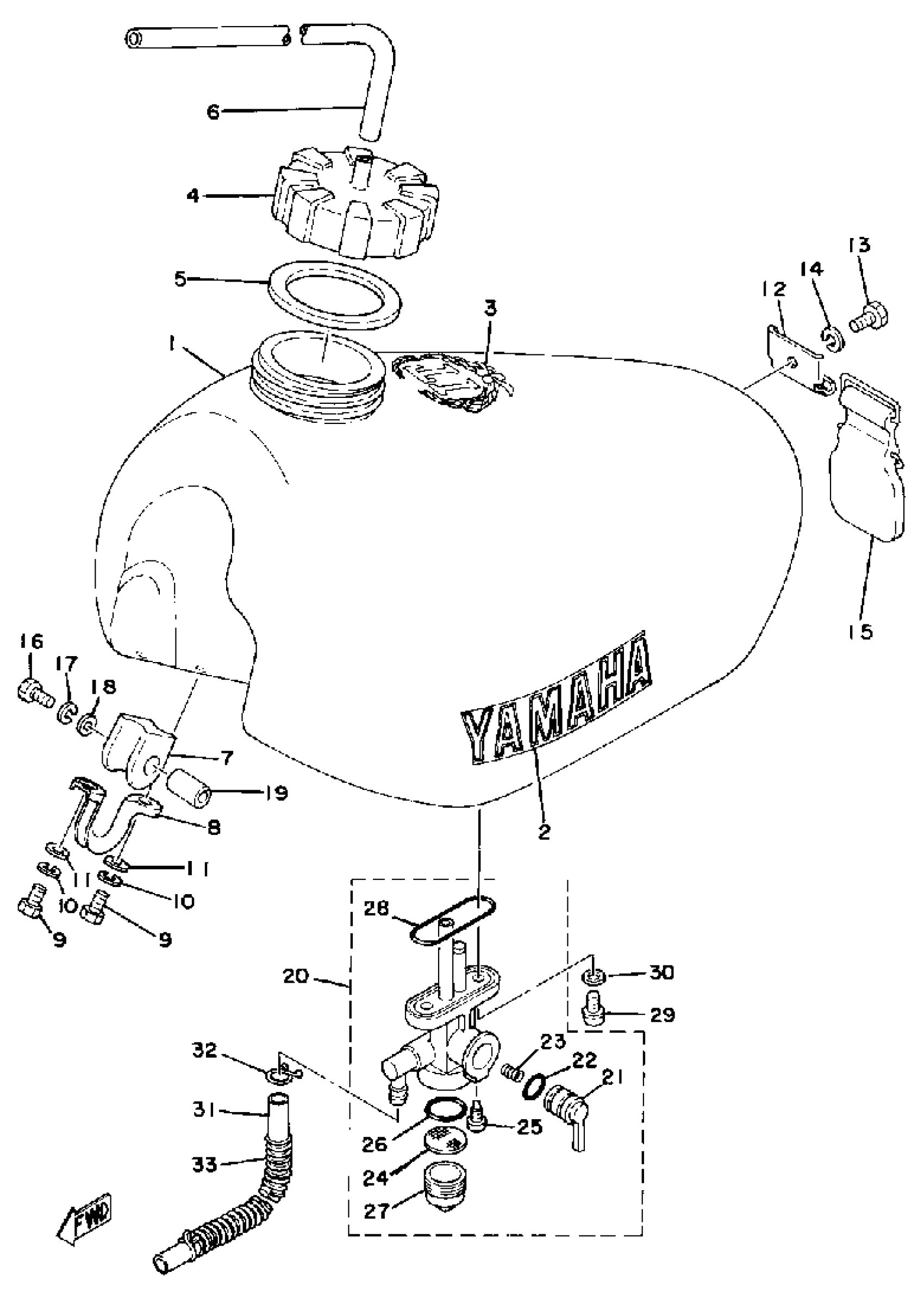
Yamaha IT175F (IT175) 1979 FUEL TANK Diagram
#
1
FUEL TANK
(1W2-24110-00-00)
Unavailable
2
EMBLEM 1
(2W6-24161-00-00)
Unavailable
3
EMBLEM 2
(1W2-24162-00-00)
Unavailable
4
. BODY, CAP
1K7-24611-01-00
Unavailable
5
GASKET,CAP
3R9-24612-00-00
Unavailable
6
HOSE (L545)
90445-09361-00
Unavailable
8
HOLDER, DAMPER
1W1-24144-01-00
Unavailable
10
WASHER, SPRING
92995-06100-00
Unavailable
12
BRACKET, FUEL TNK 2
(1W2-24192-00-00)
Unavailable
14
WASHER, SPRING
92995-06100-00
Unavailable
15
BAND, TNK FITTING 1
1W1-24173-00-00
Unavailable
16
BOLT(3RV)
97014-06035-00
Unavailable
17
WASHER, SPRING
92995-06100-00
Unavailable
18
WASHER, PLATE
90201-06747-00
Unavailable
19
COLLAR, LEVER 1
36Y-83913-01-00
Unavailable
20
FUEL COCK ASSEMBLY 1
3R9-24500-00-00
Unavailable
21
LEVER, COCK
(2W6-24524-00-00)
Unavailable
22
O-RING
2N3-24528-00-00
Unavailable
23
. SPRING
2W6-24529-00-00
Unavailable
24
. NET, FILTER
2W6-24561-00-00
Unavailable
25
. SCREW, LVR FITTING
2N3-24535-00-00
Unavailable
26
. GASKET
357-24522-10-00
Unavailable
27
CUP, FILTER
(357-24521-10-00)
Unavailable
28
O-RING
2W6-24512-00-00
Unavailable
29
SCREW 256241430000
90149-06011-00
Unavailable
30
WASHER, PLATE(3MB)
90202-05187-00
Unavailable
31
HOSE (L370)
90445-112E1-00
Unavailable
32
CLIP
90467-100A1-00
Unavailable
33
SPRING, COMPRESSION(3JK)
90501-101J5-00
Unavailable
