- Partiron
- OEM Parts
- Yamaha
- motorcycle
- 1981
- IT125H (IT125) 1981
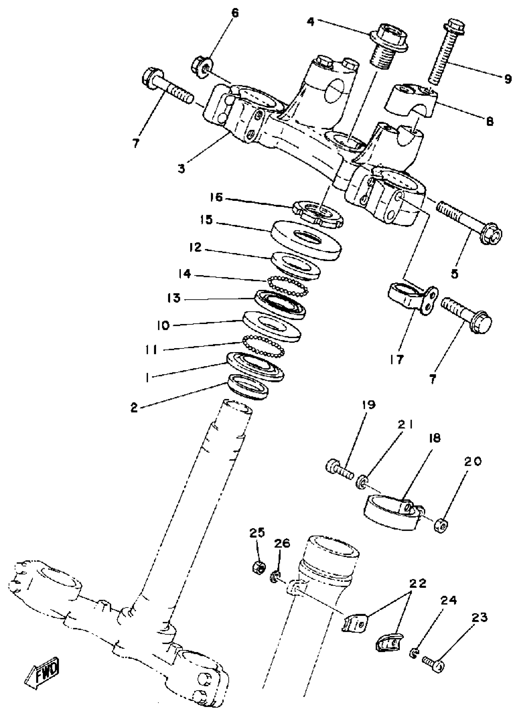
STEERING
Yamaha IT125H (IT125) 1981 STEERING Diagram
#
Description
Price
3
CROWN, HANDLE
(3R2-23435-00-98)
Unavailable
15
COVER BALL RACE
10V-23416-01-00
Unavailable
16
NUT
90179-25004-00
Unavailable
17
HOLDER, WIRE
3R4-23317-00-00
Unavailable
18
HOLDER, CABLE 1
3R9-23318-00-00
Unavailable
19
SCREW, PAN HEAD(4MY)
98507-05018-00
Unavailable
20
NUT, HEXAGON (663)
95380-05600-00
Unavailable
21
WASHER, PLAIN (646)
92990-05600-00
Unavailable
22
CLAMP (3R0)
90462-14055-00
Unavailable
23
SCREW, PAN HEAD (76T)
98517-06025-00
Unavailable
24
WASHER, SPRING
92995-06100-00
Unavailable
25
NUT, HEXAGON
95380-06600-00
Unavailable
26
WASHER, PLAIN (646)
92990-06600-00
Unavailable
