- Partiron
- OEM Parts
- Yamaha
- motorcycle
- 1980
- IT125G (IT125) 1980
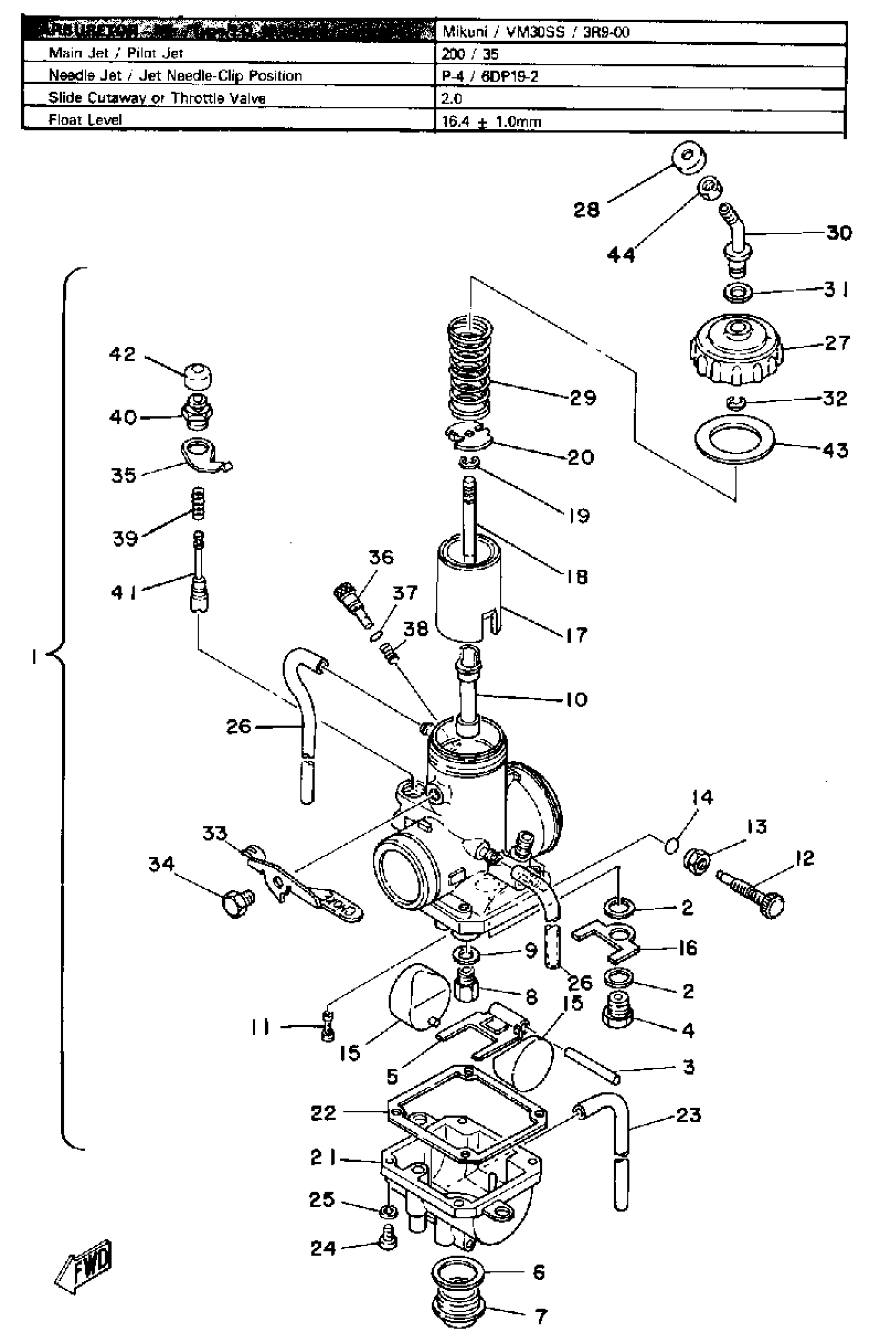
CARBURETOR
Yamaha IT125G (IT125) 1980 CARBURETOR Diagram
#
1
CARBURETOR ASSEMBLY 1
3R9-14101-00-00
Unavailable
5
ARM, FLOAT
(2K5-14187-00-00)
Unavailable
7
PLUG, SCREW
(537-14115-00-00)
Unavailable
8
JET,MAIN #190
137-14143-38-A0
Unavailable
8
JET, MAIN #210
137-14143-42-A1
Unavailable
9
WASHER, MAIN JET
(537-14153-00-00)
Unavailable
10
. NOZZLE, MAIN
278-14141-52-00
Unavailable
11
. JET, PILOT #40
193-14142-40-A1
Unavailable
12
. SCREW, THROTTLE
537-14122-00-00
Unavailable
13
. NUT, CABLE ADJUSTING
537-14161-00-00
Unavailable
14
O-RING
214-14147-00-00
Unavailable
15
. FLOAT
280-14185-00-00
Unavailable
16
PLATE
(537-14146-00-00)
Unavailable
17
VALVE, THROTTLE 1
(537-14112-20-00)
Unavailable
18
. NEEDLE
1J4-14116-19-00
Unavailable
19
CLIP
3FA-14137-00-00
Unavailable
20
. SEAT, SPRING
537-14136-00-00
Unavailable
21
BODY, FLOAT CHMBR 1
(537-14181-16-00)
Unavailable
22
. GASKET, FLOAT CHAMBER
537-14184-00-00
Unavailable
23
PIPE, AIR VENT
183-14197-01-00
Unavailable
24
SCREW, PAN HEAD(GA5)
98580-04014-00
Unavailable
25
YBS67-4 WASHER, SPRING
92990-04100-00
Unavailable
26
. PIPE, OVERFLOW
310-14196-00-00
Unavailable
27
. TOP, MIXING CHAMBER
2K5-14158-00-00
Unavailable
28
CAP
3X3-14169-00-00
Unavailable
29
. SPRING, THROTTLE VALVE
537-14131-00-00
Unavailable
30
. GUIDE, CABLE
2K5-14155-00-00
Unavailable
31
GASKET
363-14198-00-00
Unavailable
32
CLIP
363-14137-00-00
Unavailable
33
. LEVER, STARTER 1
537-14175-00-00
Unavailable
34
. BOLT, HOLDING
537-14162-00-00
Unavailable
35
. PLATE, STARTER LEVER
537-14178-00-00
Unavailable
36
AIR SCREW SET
10W-14104-00-00
Unavailable
37
O-RING (493-CARB.)
354-14147-00-00
Unavailable
38
SPRING, AIR ADJUSTING
174-14134-00-00
Unavailable
39
. SPRING, PLUNGER
500-14135-00-00
Unavailable
40
. CAP, PLUNGER
802-14174-00-00
Unavailable
41
. PLUNGER, STARTER
174-14171-00-00
Unavailable
42
. COVER, PLUNGER CAP
802-14173-00-00
Unavailable
43
. GASKET
2K5-14198-00-00
Unavailable
44
NUT, WIRE ADJUSTING
127-14161-00-00
Unavailable
