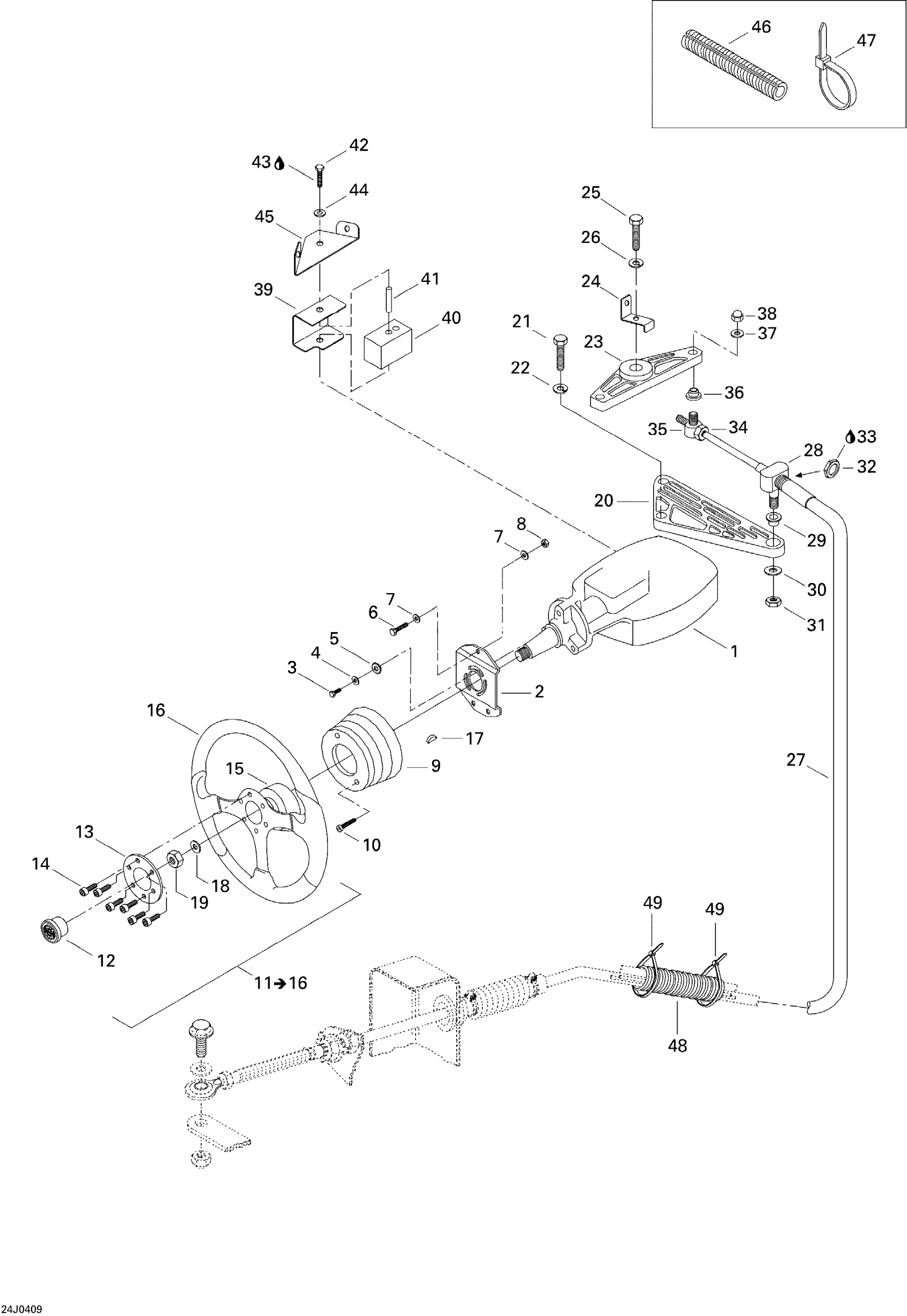
Sea-doo Islandia, 250 OPTI, 240 EFI, 2004 Steering Diagram
#
1
HELM ASS'Y - Call your local BRP dealership
204390244
Unavailable
2
Support
277000383
Unavailable
3
HEX. SCREW 1/4-20 X 3/4?, SCOTCH GRIP - Call your local BRP dealership
211000050
Unavailable
9
COLLAR, BLACK - Call your local BRP dealership
204390030
Unavailable
10
SCREW 8-32 X 1-1/4 - Call your local BRP dealership
204390059
Unavailable
11
Steering | Includes 11 to 16
204390170
Unavailable
12
Center Cap
204390327
Unavailable
13
Center Ring
204390328
Unavailable
14
SCREW PACK - Call your local BRP dealership
204390329
Unavailable
15
Nylon Hub
204390330
Unavailable
16
Steering Wheel
204390331
Unavailable
17
WOODRUFF KEY - Call your local BRP dealership
277000384
Unavailable
18
FLAT WASHER, STAINLESS - Call your local BRP dealership
211200006
Unavailable
19
LOCK NUT 1/2-20 - Call your local BRP dealership
211100021
Unavailable
20
CABLE SUPPORT - Call your local BRP dealership
277000458
Unavailable
21
HEX. SCREW 1/4-20 X 3/4?, SCOTCH GRIP - Call your local BRP dealership
211000050
Unavailable
23
ARM - Call your local BRP dealership
204390040
Unavailable
24
Lower Clip
204390271
Unavailable
25
HEX. SCREW 1/4-20 X 1?, SCOTCH GRIP - Call your local BRP dealership
211000054
Unavailable
27
STEERING CABLE - Call your local BRP dealership
204390212
Unavailable
28
PIVOT 3/8? - Call your local BRP dealership
277000461
Unavailable
31
LOCK NUT - Call your local BRP dealership
211100024
Unavailable
32
HEX. JAM NUT 5/8-18 - Call your local BRP dealership
204390053
Unavailable
34
HEX. NUT 5/16-24 - Call your local BRP dealership | Single HO Engine Models
277000439
Unavailable
35
PIVOT - Call your local BRP dealership
277000456
Unavailable
36
BUSHING - Call your local BRP dealership
204130095
Unavailable
37
FLAT WASHER - Call your local BRP dealership
211200019
Unavailable
38
NUT-STOP ELASTIC MS-17830 - Call your local BRP dealership
212000005
Unavailable
39
Bumper Support
204390245
Unavailable
40
Bumper
204390246
Unavailable
41
Bushing
204130004
Unavailable
42
HEX. SCREW 1/4-20 X 2-1/2 - Call your local BRP dealership
204100014
Unavailable
45
Cam Switch
204390339
Unavailable
46
SLIT CONDUIT 1 - Call your local BRP dealership This part replaces 204560132.
204130176
Unavailable
48
SLIT CONDUIT 1 - Call your local BRP dealership This part replaces 204560132.
204130176
Unavailable
