- Partiron
- OEM Parts
- Can-Am
- SXS
- 2026
- SSV - Maverick Trail Series
- Maverick Trail 700 - DPS - 2026
- Maverick Trail - 700 EFI - DPS - 7HTB - Timeless Black Metallic - 50" Width, 2026
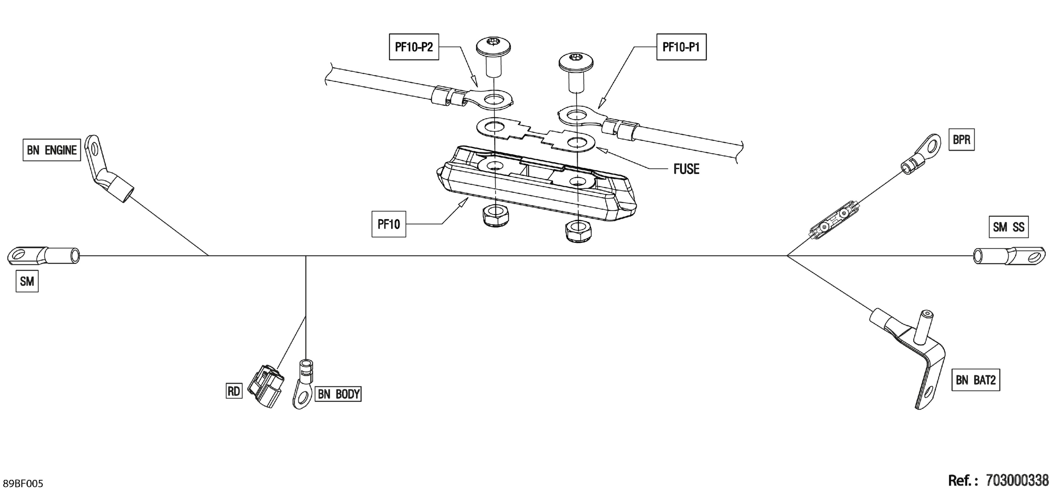
Electric - Voltage Regulator Wiring Harness - 710007632
Can-Am Maverick Trail - 700 EFI - DPS - 7HTB - Timeless Black Metallic - 50" Width, 2026 Electric - Voltage Regulator Wiring Harness - 710007632 Diagram
#
Description
Price
BN BAT2
Heat Shrink
710002577
Unavailable
BN BAT2
Open Barell
710006005
Unavailable
BN BODY
Heat Shrink
710002589
Unavailable
BN ENGINE
Heat Shrink
710002576
Unavailable
BPR
Heat Shrink Tubing
710002588
Unavailable
SM
Heat Shrink
710002577
Unavailable
SM
Open Barrel
710000530
Unavailable
SM
Rubber Boot
278002266
Unavailable
SM SS
Heat Shrink
710002577
Unavailable
SM SS
Open Barrel
710000530
Unavailable
SM SS
Rubber Boot
278002266
Unavailable
