- Partiron
- OEM Parts
- Polaris
- Watercraft
- PWC
- 1997
- HURRICANE - B974473
ENGINE FOGGING SYSTEM (INTL.) Intl. HURRICANE I974473 (4941044104B013)
Polaris HURRICANE - B974473 ENGINE FOGGING SYSTEM (INTL.) Intl. HURRICANE I974473 (4941044104B013) Diagram
#
Description
Price
-
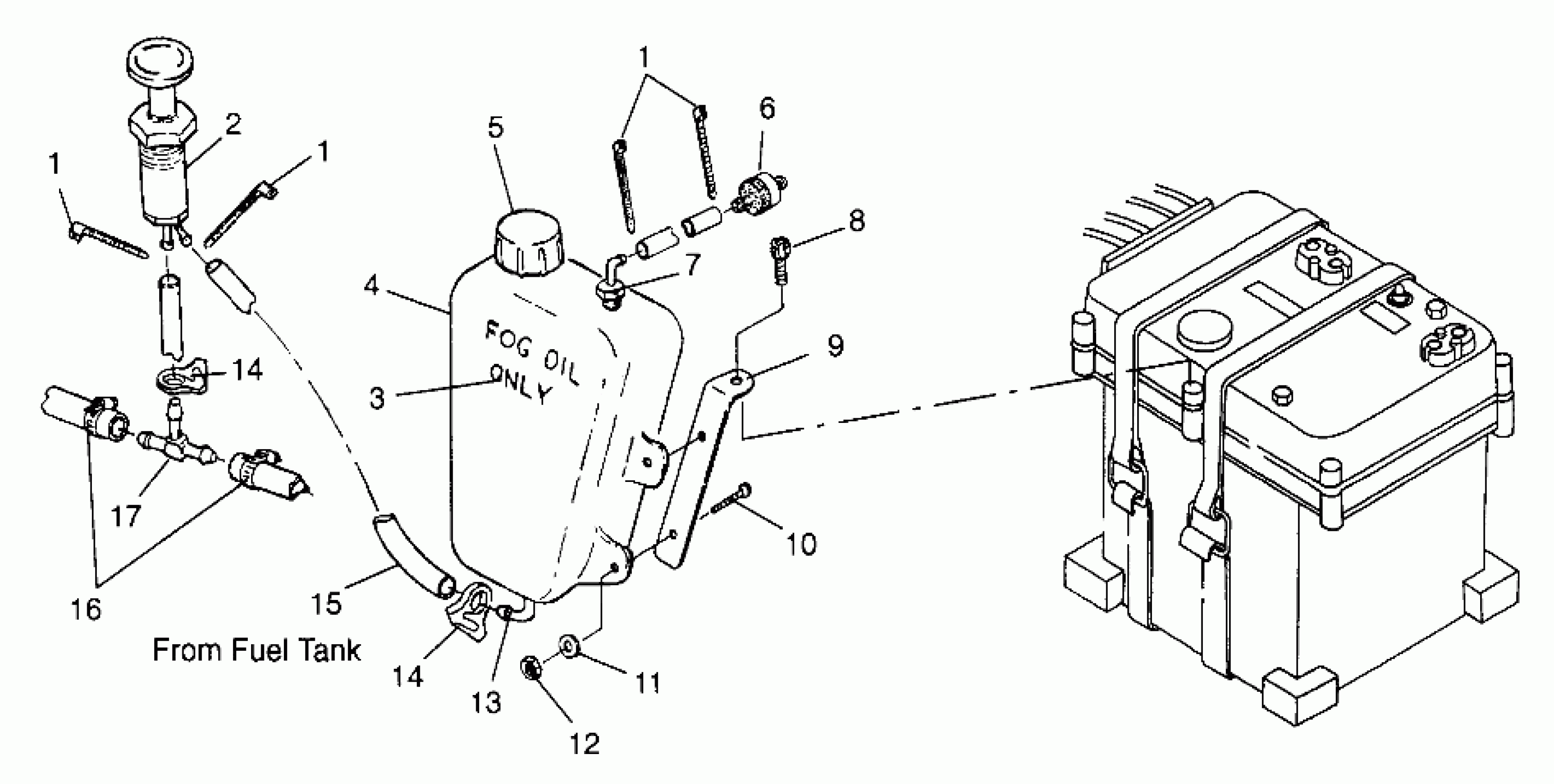
FLUSH KIT(NON-FICHT ENGINES)
2871443
Unavailable
-
FOGGING KIT
2871550
Unavailable
2
PRIMER,ENG.,FOG
3160114
Unavailable
3
DECAL,"FOG.OIL ONLY"
7075732
Unavailable
4
TANK,OIL,FOG KIT
5432362
Unavailable
5
CAP,OIL BOTTLE
5432359
Unavailable
6
CHECKVALVE,VENT Substituted by 7051011
7052047
Unavailable
8
Screw (See Pg. A25, Ref. 38)
-------
Unavailable
9
BRKT,FOGOIL BOTTLE(SLTX/780)
5241961
Unavailable
11
WASHER, FLAT, S.S.(10)
7555837
Unavailable
13
FITTING, 90 DEG.
7052138
Unavailable
14
CLAMP, HOSE(10)
7080484
Unavailable
14
CLAMP, HOSE(10)
7080484
Unavailable
15
OILLINE,153 CM.
8450062-153
Unavailable
17
FITTING,T
7052139
Unavailable
