- Partiron
- OEM Parts
- Polaris
- Watercraft
- PWC
- 1996
- HURRICANE - B964466
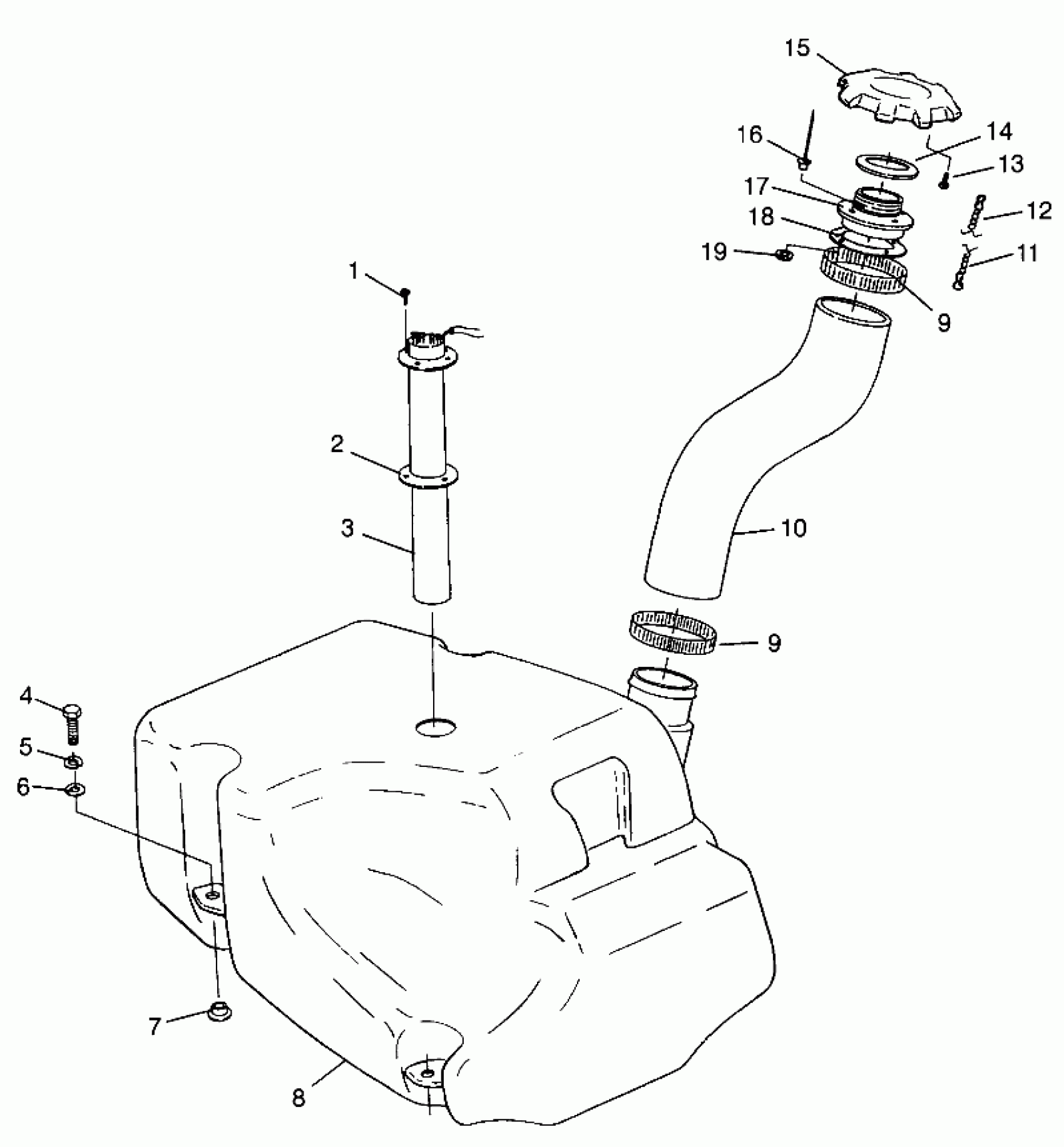
FUEL TANK HURRICANE B964466 and Intl. HURRICANE I964466 (4935733573A009)
Polaris HURRICANE - B964466 FUEL TANK HURRICANE B964466 and Intl. HURRICANE I964466 (4935733573A009) Diagram
#
Description
Price
3
SENDER/PICKUP ASM,FUEL
2410044
Unavailable
4
BOLT, S.S.
7515365
Unavailable
5
WASHER, LOCK, S.S.(10)
7552610
Unavailable
6
WASHER, S.S.(10)
7555834
Unavailable
7
BUSHING,FUEL,TANK(10)
5333114
Unavailable
8
TANK,FUEL,(10 GAL) Substituted by 2511264
5432203
Unavailable
10
HOSE,FUEL INLET
5411115
Unavailable
11
CHAIN Substituted by 7080710
7080440
Unavailable
12
Coupling
7080442
Unavailable
13
SCREW(10)
7511873
Unavailable
14
GASKET,FUEL CAP Substituted by 2872029
5810871
Unavailable
15
CAP ASM,FUEL Substituted by 2872029
2653009
Unavailable
16
RIVET,(50)
7621491
Unavailable
17
INLET,FUEL,BLK(PWC) Substituted by 2872029
5432613-070
Unavailable
18
SEAL,FUEL INLET
5810931
Unavailable
19
WASHER, FLAT, S.S.(10)
7555837
Unavailable
19
INLET ASM,FUEL CAP (Incl. 11-19)
2872029
Unavailable
