- Partiron
- OEM Parts
- Suzuki
- Motorcycle
- 2001
- GZ250 (2001)
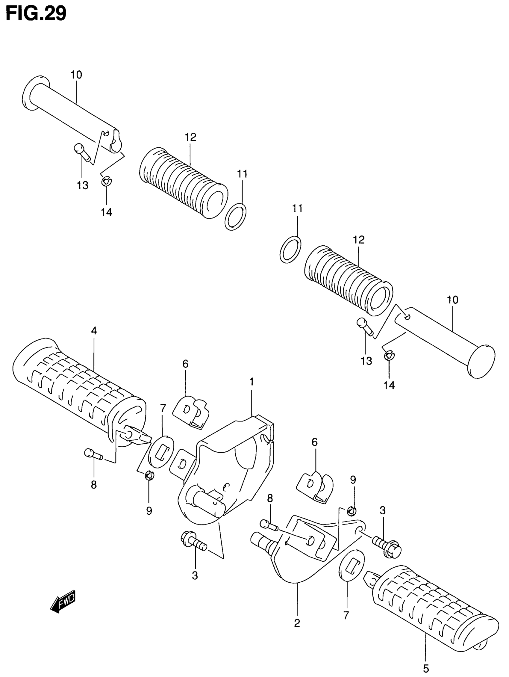
FOOTREST
Suzuki GZ250 (2001) FOOTREST Diagram
#
Description
Price
1
BRACKET, FRONT FOOTREST RH
43510-13F00
Unavailable
2
BRACKET, FRONT FOOTREST LH
43520-13F00
Unavailable
10
BAR, PILLION FOOTREST
43610-38300
Unavailable
