Yamaha GX1800P (FZR) F3L4 2015 INTAKE 1 Diagram
#
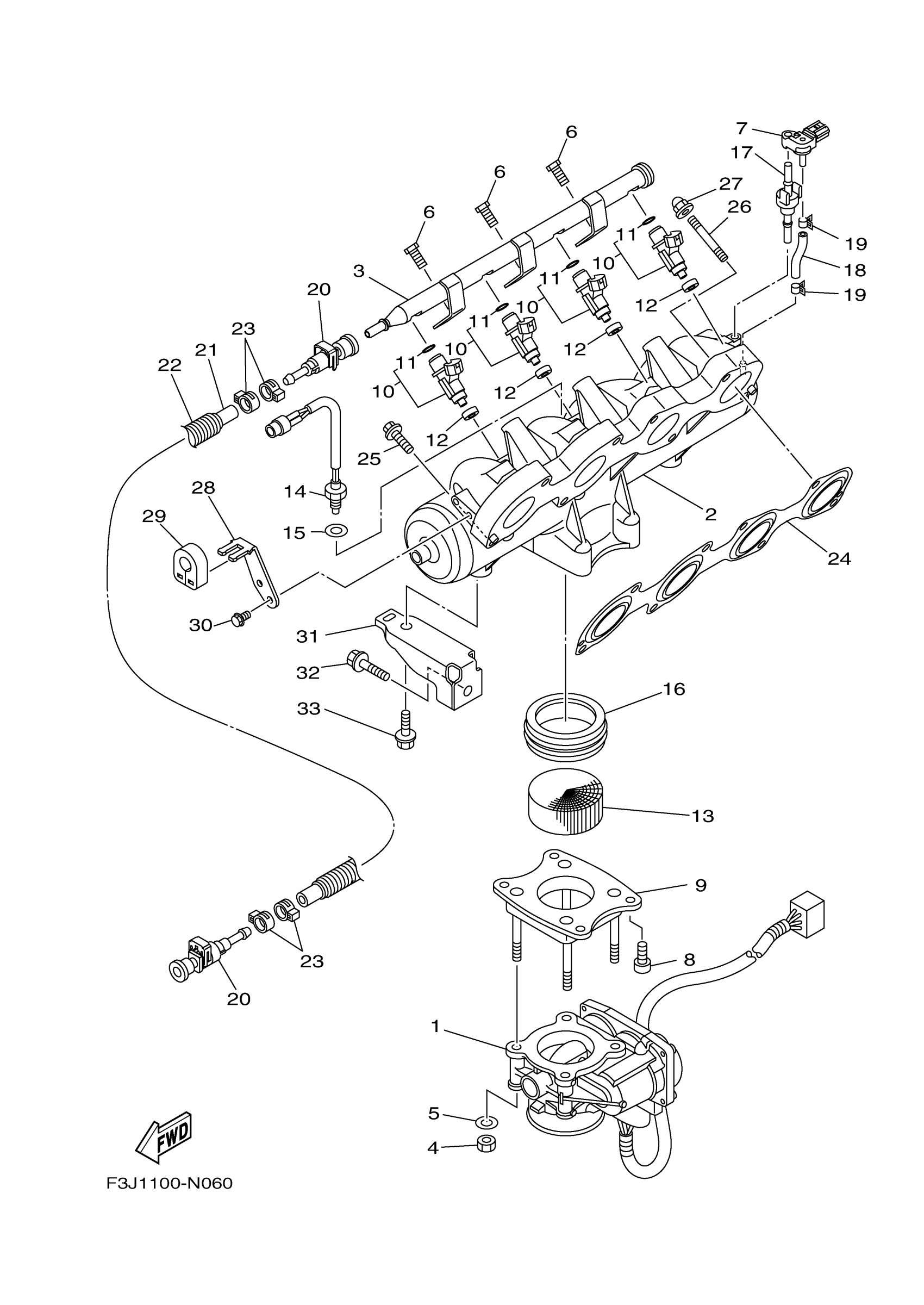
1
THROTTLE BODY ASSY
6S5-13750-12-00
Unavailable
2
MANIFOLD, INTAKE 1
6S5-13641-A2-00
Unavailable
3
DELIVERY PIPE
6CS-12880-00-00
Unavailable
4
NUT
6P2-13588-00-00
Unavailable
5
WASHER
6P2-13578-00-00
Unavailable
6
BOLT
6CS-14446-00-00
Unavailable
7
. SENSOR, PRESSURE
6BH-82380-00-00
Unavailable
8
BOLT
6S5-14496-00-00
Unavailable
9
THROTTLE DAMPER ASSY
6S5-14360-12-00
Unavailable
10
INJECTOR
6ET-13761-00-00
Unavailable
11
. O-RING
68V-1416A-00-00
Unavailable
12
. GASKET, MANIFOLD
8FP-13556-10-00
Unavailable
13
RIBBON
6D3-1444B-01-00
Unavailable
14
SENSOR, AIR TEMPERATURE
6S5-85886-00-00
Unavailable
15
. WASHER
6S5-14285-00-00
Unavailable
16
HOLDER
6S5-14457-00-00
Unavailable
17
GROMMET
6BH-14445-00-00
Unavailable
18
HOSE
5PS-14987-00-00
Unavailable
19
CLIP
6S5-14159-01-00
Unavailable
20
FUEL PIPE JOINT
6S5-24300-01-00
Unavailable
21
HOSE
6AN-14294-20-00
Unavailable
22
TUBE (L495)
90447-19017-00
Unavailable
23
HOSE CLAMP ASSY
90450-17M17-00
Unavailable
24
. GASKET, MANIFOLD 1
6BH-13645-00-00
Unavailable
25
BOLT, WITH WASHER
97513-08535-00
Unavailable
26
BOLT, STUD
90116-08032-00
Unavailable
27
NUT, CROWN(4BR)
90176-08080-00
Unavailable
28
PLATE, STAY
6CS-14572-00-00
Unavailable
29
GROMMET
6CS-14445-01-00
Unavailable
30
BOLT, FLANGE(2UJ)
95024-06012-00
Unavailable
31
STAY
6CS-14413-00-00
Unavailable
32
BOLT, WITH WASHER
90119-08099-00
Unavailable
33
BOLT, WITH WASHER
90119-08074-00
Unavailable
