Yamaha GX1800L (FZR) F2RA 2012 INTAKE 1 Diagram
#
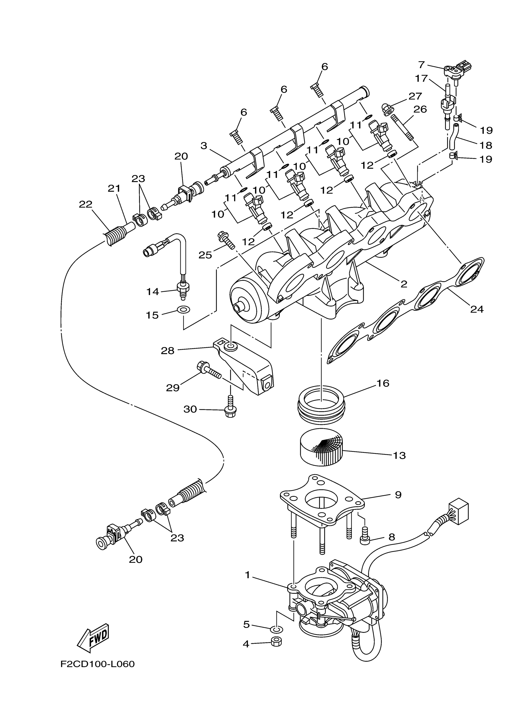
1
THROTTLE BODY ASSY
6S5-13750-12-00
Unavailable
2
MANIFOLD 1
6S5-13641-10-00
Unavailable
2
MANIFOLD, INTAKE 1
6S5-13641-A0-00
Unavailable
3
DELIVERY PIPE
6S5-12880-00-00
Unavailable
4
NUT
6P2-13588-00-00
Unavailable
5
WASHER
6P2-13578-00-00
Unavailable
6
. BOLT
63P-14446-00-00
Unavailable
7
. SENSOR, PRESSURE
6BH-82380-00-00
Unavailable
8
BOLT
6S5-14496-00-00
Unavailable
9
THROTTLE DAMPER ASSY
6S5-14360-12-00
Unavailable
10
INJECTOR
6S5-13761-00-00
Unavailable
11
.. O-RING
60E-14147-00-00
Unavailable
13
RIBBON
6D3-1444B-01-00
Unavailable
14
SENSOR, AIR TEMPERATURE
6S5-85886-00-00
Unavailable
15
. WASHER
6S5-14285-00-00
Unavailable
16
SEAL
6D3-14457-00-00
Unavailable
17
GROMMET
6BH-14445-00-00
Unavailable
18
HOSE, VACUUM SENSING 3
69J-13532-00-00
Unavailable
19
CLIP
6S5-14159-01-00
Unavailable
20
FUEL PIPE JOINT
6S5-24300-01-00
Unavailable
21
HOSE
6AN-14294-02-00
Unavailable
21
HOSE
6AN-14294-20-00
Unavailable
22
TUBE (L495)
90447-19017-00
Unavailable
23
HOSE CLAMP ASSY
90450-17M17-00
Unavailable
24
. GASKET, MANIFOLD 1
6BH-13645-00-00
Unavailable
25
BOLT, WITH WASHER
90119-08022-00
Unavailable
26
BOLT, STUD
90116-08032-00
Unavailable
27
NUT, CROWN(4BR)
90176-08080-00
Unavailable
28
STAY
6S5-14413-00-00
Unavailable
29
BOLT, WITH WASHER
90119-08043-00
Unavailable
30
BOLT, WITH WASHER
90119-08099-00
Unavailable
