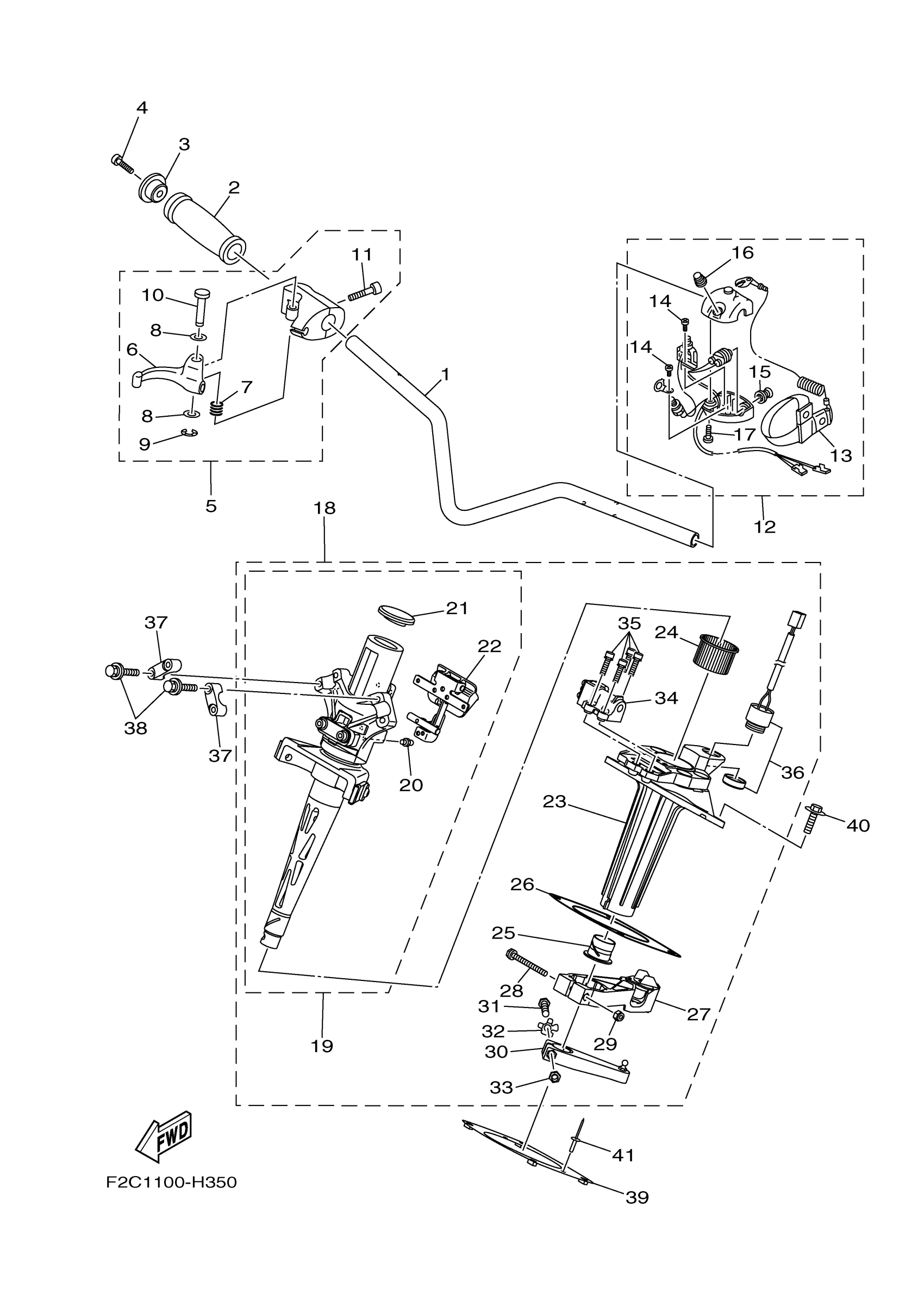
Yamaha GX1800AHR (WAVERUNNER FZS) F2C10 2009 STEERING 1 Diagram
#
1
HANDLE
F2C-U1552-00-00
Unavailable
2
GRIP, HANDLE
GP7-U155D-01-00
Unavailable
3
GRIP, END
GP7-U155F-00-00
Unavailable
4
BOLT, HEXAGON SOCKET HEAD
90110-05908-00
Unavailable
5
THROTTLE LEVER ASSY
F0D-67250-10-00
Unavailable
6
LEVER, THROTTLE
F0D-67255-02-00
Unavailable
7
. SPRING
EW2-67256-00-00
Unavailable
9
CIRCLIP (EU0)
99080-04600-00
Unavailable
10
. SHAFT
F0D-67257-00-00
Unavailable
11
. BOLT, THROTTLE
F1X-6725F-01-00
Unavailable
12
SWITCH BOX ASSY
F2C-68310-00-00
Unavailable
13
. LANYARD, STOP SWITCH
EW2-68348-00-00
Unavailable
15
. STOP BUTTON COMP
FK7-68312-02-00
Unavailable
16
. START BUTTON COMP
FK7-68313-02-00
Unavailable
17
SCREW, PANHEAD (A93)
98580-05525-00
Unavailable
18
STEERING MASTER ASSY
F2C-61400-00-00
Unavailable
19
. SHAFT ASSY
F2C-67410-00-00
Unavailable
20
.. NIPPLE, GREASE
F2C-6151T-00-00
Unavailable
21
.. CAP
F2C-613B0-00-00
Unavailable
22
.. LOCK ASSY
F2C-6287A-00-00
Unavailable
23
. HOUSING ASSY
F2C-6152M-00-00
Unavailable
24
. BUSH
F1K-6134M-00-00
Unavailable
25
. BUSH
F2C-6134M-00-00
Unavailable
26
. SEAL, RUBBER
F2C-6143C-00-00
Unavailable
27
. CABLE STOPPER ASSY
F2C-6146A-00-00
Unavailable
28
. BOLT
F2C-61369-00-00
Unavailable
29
NUT, SELF-LOCKING
95720-06300-00
Unavailable
30
ARM ASSY.
F2C-6153R-01-00
Unavailable
31
.. BOLT
F1K-61355-00-00
Unavailable
32
. PLATE, RETAINING
F1K-6142B-00-00
Unavailable
33
. NUT, SELF-LOCKING
95720-08300-00
Unavailable
34
. SENSOR ASSY
F1W-68303-00-00
Unavailable
35
BOLT
F1W-61516-10-00
Unavailable
36
BUZZER
F1S-68341-00-00
Unavailable
37
HOLDER, HANDLE UPPER
EU0-23814-32-00
Unavailable
38
BOLT, WITH WASHER
90119-089U1-00
Unavailable
39
PLATE, RETAINING
F2C-U1554-00-00
Unavailable
40
BOLT,WITH WASHER
90119-08870-00
Unavailable
41
RIVET, BLIND
90267-48806-00
Unavailable
