- Partiron
- OEM Parts
- Suzuki
- Motorcycle
- 2014
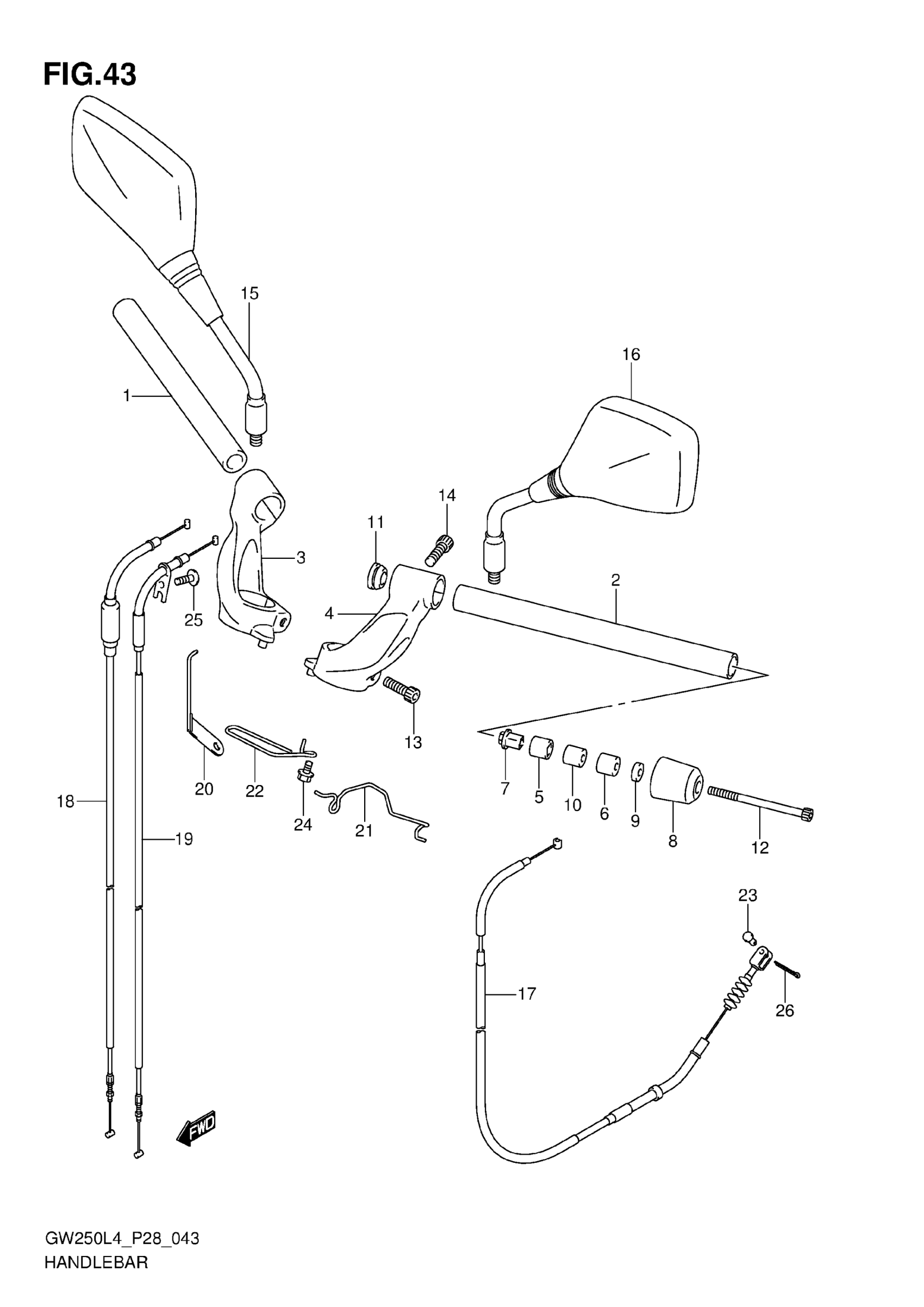
- GW250L4 (2014)
HANDLEBAR
Suzuki GW250L4 (2014) HANDLEBAR Diagram
#
Description
Price
20
GUIDE, GUIDE
58620-48H31
Unavailable
21
GUIDE, CLUTCH CABLE
58621-48H01
Unavailable
