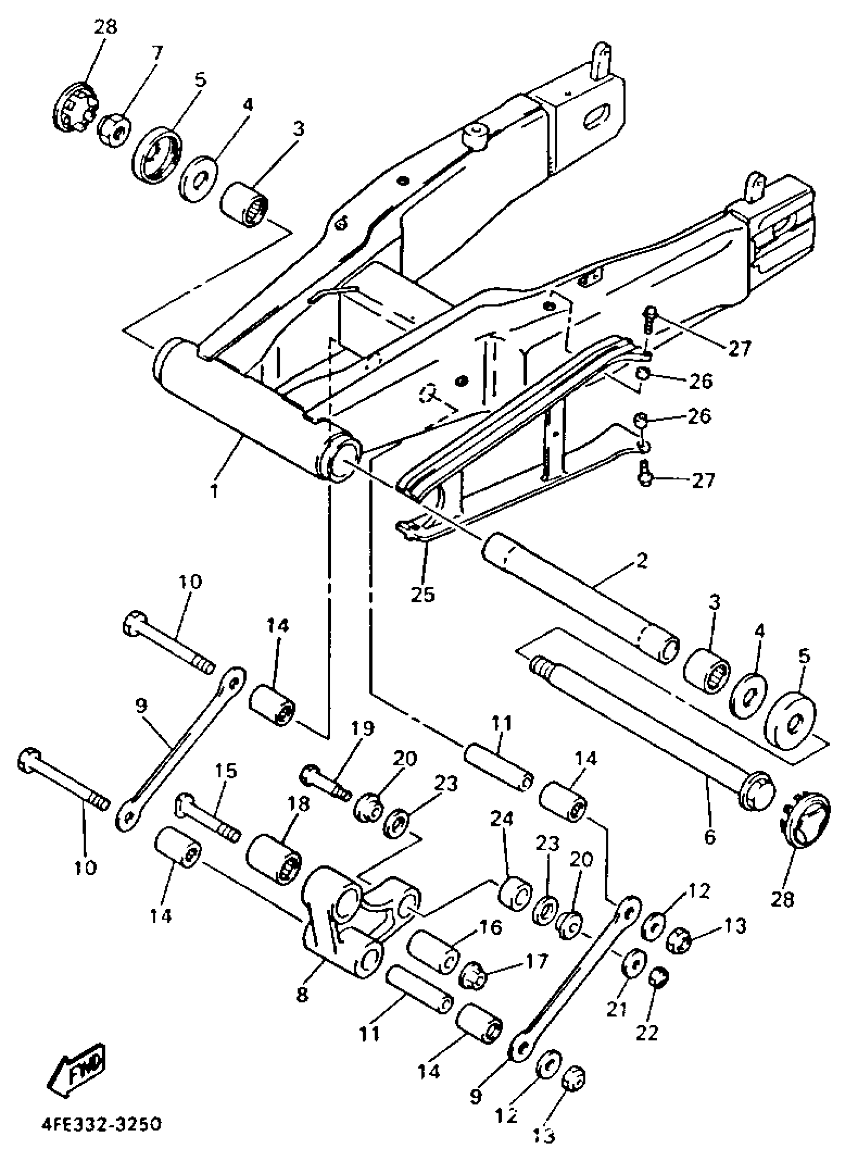
Yamaha GTS1000AEC (GTS1000A CA) 1993 SWING ARM Diagram
#
Description
Price
1
REAR ARM COMP.
4FE-22110-00-P1
Unavailable
2
BUSH
4BH-22184-00-00
Unavailable
4
SHIM
4BH-22127-00-00
Unavailable
5
COVER, THRUST 1
4BH-22128-00-00
Unavailable
6
SHAFT, PIVOT
4BH-22141-00-00
Unavailable
7
NUT, SELF-LOCKING
90185-20160-00
Unavailable
8
ARM, RELAY
4BH-2217A-00-00
Unavailable
9
ARM 1
4BH-2217M-00-00
Unavailable
10
BOLT(4BH)
90101-12749-00
Unavailable
15
BOLT
90109-101F1-00
Unavailable
16
COLLAR(2MF)
90387-100T8-00
Unavailable
17
NUT, SELF-LOCKING
90185-10170-00
Unavailable
18
BEARING, CYLINDRICAL(2GH)
93317-42060-00
Unavailable
19
BOLT(1WG)
90101-10659-00
Unavailable
20
COLLAR(3BC)
90387-124W2-00
Unavailable
21
WASHER, PLATE(3BM)
90201-105R9-00
Unavailable
22
NUT, SELFLOCKING (533 FRAME)
90185-10060-00
Unavailable
23
OIL SEAL(47X)
93101-16131-00
Unavailable
24
BEARING(47X)
93399-99919-00
Unavailable
25
SEAL, GUARD
4BH-22151-00-00
Unavailable
26
COLLAR
90387-06704-00
Unavailable
27
SCREW, WITH WASHER
90159-06108-00
Unavailable
28
COVER
4BH-2219X-00-00
Unavailable
