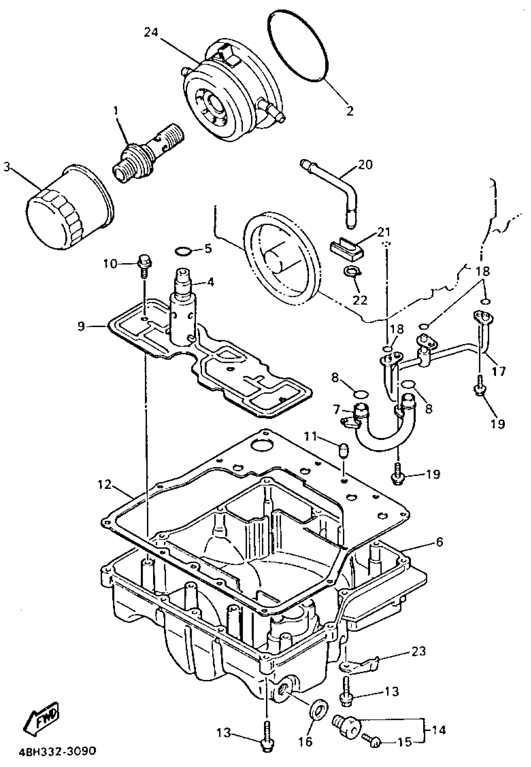
Yamaha GTS1000AEC (GTS1000A CA) 1993 OIL FILTER Diagram
#
Description
Price
1
BOLT, UNION
90401-20158-00
Unavailable
2
O-RING(1KF)
93210-87723-00
Unavailable
4
RELIEF VALVE ASSY
3KS-13490-00-00
Unavailable
6
COVER, STRAINER
4BH-13417-00-00
Unavailable
7
PIPE,OIL 1
3FV-13416-01-00
Unavailable
9
PLATE,BAFFLE LOWER
3FV-13337-00-00
Unavailable
12
GASKET, STRAINER COVER
4FM-13414-00-00
Unavailable
16
GASKET
214-11198-01-00
Unavailable
17
PIPE, DELIVERY 1
3GM-13161-01-00
Unavailable
18
O-RING(1AE)
93210-06714-00
Unavailable
19
BOLT, FLANGE(4MY)
95027-06012-00
Unavailable
20
PIPE, BREATHER
3GM-15373-00-00
Unavailable
21
HOLDER, OIL PIPE
3GM-13174-00-00
Unavailable
22
CIRCLIP(10W)
99009-10400-00
Unavailable
23
CLAMP
90465-08076-00
Unavailable
24
OIL COOLER ASSY
4BH-13470-00-00
Unavailable
