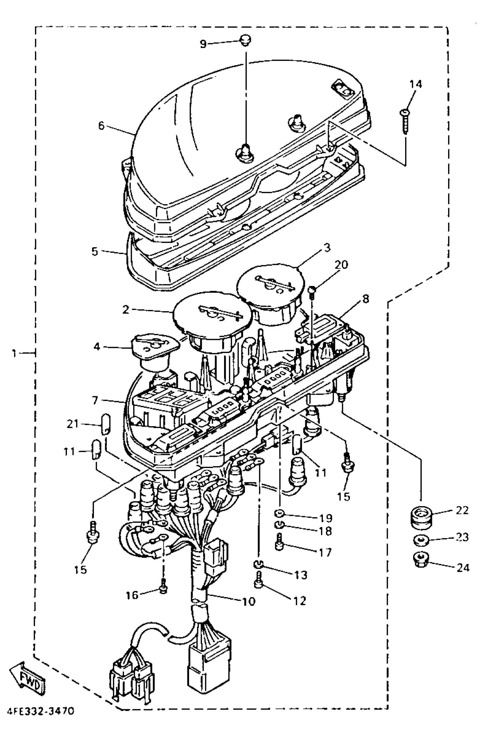
Yamaha GTS1000AEC (GTS1000A CA) 1993 METER Diagram
#
Description
Price
1
SPEEDOMETER ASSEMBLY
4FE-83500-10-00
Unavailable
2
. SPEEDOMETER ASSEMBLY
4FE-83570-10-00
Unavailable
3
. TACHOMETER ASSEMBLY
4BH-83540-00-00
Unavailable
4
. FUEL METER ASSEMBLY
4BH-85750-00-00
Unavailable
5
REFLECTOR
4FE-8353L-00-00
Unavailable
6
. LENS, SPEEDOMETER
4BH-83511-00-00
Unavailable
7
. CASE, METER LOWER
4FE-8353F-10-00
Unavailable
8
. DIGITAL CLOCK ASSEMBLY
4BH-83740-00-00
Unavailable
9
KNOB, TRIP METER
29L-83578-00-00
Unavailable
10
. SOCKET CORD ASSEMBLY
4FE-83509-00-00
Unavailable
11
BULB, MTR.12V3.4W
4G1-84744-00-XX
Unavailable
14
SCREW, TAPPING
90164-04005-00
Unavailable
15
SCREW, TAPPING(3GM)
90167-04057-00
Unavailable
16
SCREW, WITH WASHER(36Y)
90159-03102-00
Unavailable
17
SCREW, PAN HEAD (E56)
98580-04010-00
Unavailable
18
YBS67-4 WASHER, SPRING
92990-04100-00
Unavailable
19
WASHER, PLAIN (646)
92990-04600-00
Unavailable
20
. SCREW, TAPPING
97702-30512-00
Unavailable
21
BULB (12V-1.7W)
3GM-83517-00-00
Unavailable
22
DAMPER
5J0-83513-00-00
Unavailable
23
WASHER, PLATE(56J)
90201-106H5-00
Unavailable
24
NUT (21W)
90179-06403-00
Unavailable
